Derechos de autor reservados - Prohibida su reproducción
CIRCULAR 4 DE 2019
(febrero 22)
Boletín Ministerio de Hacienda, Capítulo Superintendencia Financiera de Colombia, No. 478 de 22 de febrero de 2019
SUPERINTENDENCIA FINANCIERA
Señores
REPRESENTANTES LEGALES DE LAS ENTIDADES ADMINISTRADORAS DE FONDOS DE PENSIONES Y CESANTÍAS DEL RÉGIMEN DE AHORRO INDIVIDUAL CON SOLIDARIDAD – RAIS Y ADMINISTRADORAS DEL FONDO NACIONAL DE PENSIONES DE ENTIDADES TERRITORIALES – FONPET Y OTROS PATRIMONIOS AUTÓNOMOS PÚBLICOS DESTINADOS A LA GARANTÍA Y PAGO DE PENSIONES
Referencia: Instrucciones relativas al cálculo del valor de la unidad de los tipos de fondos de pensiones obligatorias y los portafolios de los fondos de cesantías y a la administración de los recursos del Fondo Nacional de Pensiones de las Entidades Territoriales – FONPET y otros patrimonios autónomos públicos destinados a la garantía y pago de pensiones.
Apreciados señores:
Con el fin de implementar las disposiciones introducidas por el Decreto 2392 de 2018 relacionadas con la determinación del valor de la unidad de los tipos de fondos de pensiones obligatorias y los portafolios de los fondos de cesantías, se considera necesario impartir instrucciones sobre el cálculo de la rentabilidades diaria y acumulada de estos fondos y portafolios empleando la metodología Net Asset Value – NAV.
Asimismo, se considera necesario impartir instrucciones relativas a los mecanismos de transacción del exterior autorizados y a los mecanismos de registro de operaciones para las inversiones de los recursos del Fondo Nacional de Pensiones de las Entidades Territoriales – FONPET y otros patrimonios autónomos públicos destinados a la garantía y pago de pensiones.
En consecuencia, este Despacho, en ejercicio de sus facultades legales y en particular las establecidas en el artículo 2.12.3.19.10 y el parágrafo 1 del artículo 2.12.3.19.11 del Decreto 1068 de 2015, así como el parágrafo 1 del artículo 2.6.5.1.3, el parágrafo del artículo 2.6.9.1.3 y el numeral 5o del artículo 11.2.1.4.2 del Decreto 2555 de 2010, imparte las siguientes instrucciones:
PRIMERA: Modificar el Capítulo XII de la Circular Básica Contable y Financiera, en lo relativo a la determinación de la rentabilidades diaria y acumulada de los tipos de fondos de pensiones obligatorias y de los portafolios de los fondos de cesantías.
SEGUNDA: Modificar los Formatos 136 “Valoración de los tipos de fondos de pensiones obligatorias o portafolios del fondo de cesantía” y 137 “Rentabilidad de los tipos de fondos de pensiones obligatorias o portafolios del fondo de cesantía (en términos efectivos anuales)” (Proforma F.6000-03).
TERCERA: La primera transmisión oficial de la información contenida en los Formatos a los que se refiere la instrucción segunda de la presente Circular se realizará con la información de corte del 5 de marzo de 2019, de acuerdo con los instructivos correspondientes.
CUARTA: Adicionar el numeral 12 al Capítulo V del Título III de la Parte II de la Circular Básica Jurídica, relativo al mecanismo de registro de operaciones de las administradoras de los recursos del Fondo Nacional de Pensiones de las Entidades Territoriales – FONPET y otros patrimonios autónomos públicos destinados a la garantía y pago de pensiones.
QUINTA: Modificar el subnumeral 7.2 del Capítulo II del Título II de la Parte I de la Circular Básica Jurídica, relativo a los mecanismos de transacción del exterior autorizados para las inversiones de los recursos del Fondo Nacional de Pensiones de las Entidades Territoriales – FONPET y otros patrimonios autónomos públicos destinados a la garantía y pago de pensiones.
SEXTA: La instrucción primera de la presente circular entrará en vigencia el 5 de marzo de 2019.
La presente Circular rige a partir de su publicación.
Se anexan las páginas objeto de modificación.
Cordialmente,
JORGE CASTAÑO GUTIÉRREZ
Superintendente Financiero de Colombia
CAPITULO XII.
ENTIDADES ADMINISTRADORAS DE PENSIONES Y DE CESANTIA.
1. SOCIEDADES ADMINISTRADORAS DE FONDOS DE PENSIONES Y DE CESANTIA
1.1 TIPOS DE FONDOS DE PENSIONES OBLIGATORIAS Y PORTAFOLIOS DE CORTO Y LARGO PLAZO DEL FONDO DE CESANTIA.
1.1.1. Valor del tipo de fondo o portafolio y su expresión en unidades. El valor de los tipos de fondos de pensiones obligatorias y de los portafolios del fondo de cesantía se debe determinar en forma diaria y expresarse en pesos y en unidades. Las unidades miden el valor de los aportes de los afiliados y representan cuotas partes del valor patrimonial del tipo de fondo o portafolio. El mayor valor de la unidad representa los rendimientos que se han obtenido.
Los recursos recibidos y retiros efectuados en los tipos de fondos de pensiones obligatorias o portafolios de los fondos de cesantía por cada uno de los conceptos del formato 136 - Valoración de los tipos de fondos de pensiones obligatorias o portafolios de los fondos de cesantías -, unidades de captura 3 y 4, se deben expresar en unidades y tal conversión se debe efectuar al valor de la unidad calculado al cierre del día inmediatamente anterior. Tales movimientos deben registrarse en unidades con una precisión de mínimo seis (6) decimales.
1.1.2. Valor del tipo de fondo o portafolio al cierre del día t – antes de rendimientos (VFC), El valor de cada tipo de fondo de pensiones obligatorias o portafolio del fondo de cesantía se determina de conformidad con el instructivo del formato 136 – Valoración de los tipos de fondos de pensiones obligatorias o portafolios del fondo de cesantía.
1.1.3. Valor del tipo de fondo de pensiones y portafolio de cesantías al cierre del día t, incluidos los rendimientos. En el caso de los tipos de fondos de pensiones obligatorias, sobre el valor de cada tipo de fondo o portafolio al cierre del día t, antes de rendimientos (VFC), se procede a obtener el valor de cada tipo de fondo al cierre del día t, incluidos los rendimientos (VFCR), aplicando los ingresos y gastos inherentes a cada uno de ellos. Tratándose de los portafolios de los fondos de cesantía, sobre el valor de cada portafolio al cierre del día t, antes de rendimientos (VFC), se calcula el valor de la comisión que cobra la sociedad administradora. Una vez hecho el cálculo, se procede a obtener el valor de cada portafolio al cierre del día t, incluidos los rendimientos (VFCR), aplicando los ingresos y gastos inherentes a cada uno de ellos, a saber:
Ingresos (ING)
- Los rendimientos financieros generados por los activos que conforman el tipo de fondo o portafolio, tales como la utilidad en valoración de inversiones, rendimientos en operaciones repo, simultáneas y transferencia temporal de valores, utilidad en valoración de operaciones de contado y utilidad en la valoración de derivados. Tratándose de la utilidad o pérdida en valoración de inversiones, cabe anotar que la misma debe ser la originada con base en los precios o tasas de referencia y márgenes, según lo dispuesto en el Capítulo I de la presente Circular, publicados el día t.
- Utilidad en venta de activos
- Rendimientos provenientes de anulación de aportes
- Cualquier otro ingreso a favor del tipo de fondo o portafolio
Gastos (GTS)
- Tratándose de los tipos de fondos de pensiones obligatorias, los establecidos en el numeral 2.1 del Capítulo II del Título III de la Parte II de la Circular Básica Jurídica.
- En el caso de los portafolios de corto y largo plazo de los fondos de cesantía, los establecidos en el numeral 1.2 del Capítulo III del Título III de la Parte II de la Circular Básica Jurídica.
- Los pagos a comisionistas de bolsa o corredores de valores especializados en TES, que de acuerdo con el principio del costo se incluyan en el valor de compra de los títulos, no se contabilizarán como gastos.
En consecuencia, el valor del tipo de fondo o portafolio al cierre del día t - incluidos los rendimientos es:
![]()
Donde:
VFCR (t) = Valor del tipo de fondo o portafolio al cierre del día t incluidos los rendimientos, es decir, valor al inicio de operaciones del día t+1
VFC (t) = Valor del tipo de fondo o del portafolio al cierre del día t – antes de rendimientos
ING (t) = Ingresos del tipo de fondo o del portafolio en el día t
GTS (t) = Gastos del tipo de fondo o del portafolio en el día t
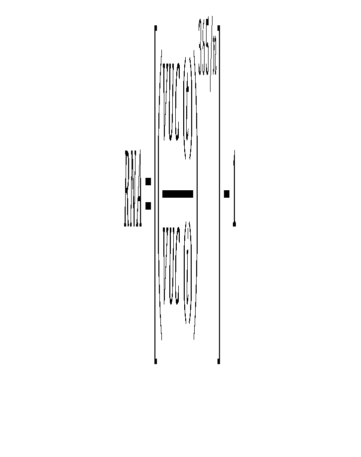
1.1.4. El valor de la unidad del tipo de fondo o portafolio al cierre del día t se calcula como
![]()
Donde:
VUC (t) = Valor de la unidad del tipo de fondo o portafolio al cierre del día t
VFCR (t) = Valor del tipo de fondo o portafolio al cierre del día t incluidos los rendimientos
NUC (t)=Número de unidades del tipo de fondo o portafolio al cierre del día t
1.1.5. Cálculo de la rentabilidad obtenida por el tipo de fondo de pensiones o del portafolio del fondo de cesantía
1.1.5.1. Rentabilidad diaria. El cálculo de la rentabilidad diaria efectiva anual obtenida por el tipo de fondo o portafolio debe hacerse conforme a la fórmula del subnumeral 1.1.5.2. con el periodo de cálculo correspondiente a un día.
1.1.5.2. Rentabilidad acumulada del tipo de fondo o del portafolio. Corresponde a la razón entre el valor de la unidad del fondo o portafolio resultante al momento del cálculo y su valor inicial, aplicando la siguiente fórmula:

Donde:
RNA = Rentabilidad nominal en términos anuales
VUC (t) = Valor de la unidad del fondo o portafolio al cierre del día final del periodo de cálculo
VUC (i) = Valor de la unidad del fondo o portafolio al cierre del día inicial del periodo de cálculo
n = Número de días del periodo de cálculo del fondo o portafolio
1.1.6. Procedimiento para los cortes mensuales de los tipos de fondos de pensiones obligatorias y portafolios del fondo de cesantía
De conformidad con lo establecido en las disposiciones legales vigentes, en el caso de los tipos de fondos de pensiones y para los portafolios de corto y largo plazo del fondo de cesantía, la verificación del cumplimiento de la rentabilidad mínima se efectúa en forma mensual.
1.1.6.1. Rentabilidad acumulada. La sociedad administradora debe determinar al cierre de cada mes, la rentabilidad acumulada alcanzada por el tipo de fondo de pensiones y por los portafolios del fondo de cesantía durante el período de cálculo, conforme a lo dispuesto en el numeral 1.1.5.2 del presente capítulo.
1.1.6.2 Rentabilidad acumulada mínima obligatoria. La rentabilidad acumulada mínima obligatoria para los tipos de fondos de pensiones y los portafolios del fondo de cesantía es calculada por la Superintendencia Financiera de Colombia, conforme a lo dispuesto en las disposiciones legales vigentes, y se divulga a más tardar el quinto día hábil siguiente a la fecha de cada corte. Tratándose de los tipos de fondos de pensiones obligatorias, se tendrá en cuenta lo contemplado en el numeral 1.1.6.
1.1.6.3 Cálculo de la suma a cubrir por la sociedad administradora en caso de no cumplir con la rentabilidad acumulada mínima obligatoria.
Si no se alcanzó la rentabilidad acumulada mínima obligatoria durante el período de cálculo, la sociedad administradora debe determinar el nuevo valor del tipo de fondo de pensiones o portafolio de corto o largo plazo del fondo de cesantía con el cual se cumple con la rentabilidad requerida.
El valor de la suma por la cual debe responder la sociedad administradora con cargo a su propio patrimonio corresponde a la diferencia entre el nuevo valor del tipo de fondo o portafolio, según el caso, con el cual se cumple la rentabilidad acumulada mínima obligatoria y el valor del tipo de fondo o portafolio a la fecha de cierre, según la siguiente formula:
SA = NVF - VFC
SA = Suma a abonar al tipo de fondo o portafolio cuando no se alcance la rentabilidad acumulada mínima obligatoria.
NVF = Valor del tipo de fondo o portafolio al cierre del período de verificación con el cual se cumple la rentabilidad acumulada mínima obligatoria.
VFC = Valor del tipo de fondo o portafolio al cierre del período de verificación con el cual se obtuvo la rentabilidad acumulada del fondo.
1.1.6.3.1 Suma a cubrir en los tipos de fondos de pensiones. El valor por cubrir por la sociedad administradora será el equivalente a la suma a abonar “SA”. Dicho valor debe ser girado en efectivo al tipo de fondo en un plazo máximo de cinco (5) días comunes contados a partir del día en que se divulgue la rentabilidad acumulada mínima obligatoria por parte de la Superintendencia Financiera de Colombia. Esta suma debe ser registrada el último día del período de verificación para alcanzar la rentabilidad mínima, con abono al código correspondiente hasta tanto sea girada al fondo.
1.1.6.3.2 Suma a cubrir en los portafolios de corto y de largo plazo del fondo de cesantía. Si el valor “SA” es inferior al saldo de las cuentas por pagar por concepto de comisión por administración del portafolio y comisión retiros parciales, dicha suma se descuenta, el último día del mes de verificación, inicialmente de la cuenta por pagar por concepto de comisión por administración y posteriormente de la comisión por retiros parciales, con abono al código correspondiente, pudiendo efectuar la administradora el cobro de la suma restante de las comisiones por pagar.
Si el valor “SA” es superior al saldo de la cuenta por pagar por concepto de comisión por administración del portafolio y comisión retiros parciales, la sociedad administradora debe cubrir en efectivo dicha diferencia a favor del portafolio en un plazo máximo de cinco (5) días comunes contados a partir del día en que se divulgue la rentabilidad acumulada mínima obligatoria por parte de la Superintendencia Financiera de Colombia. Esta suma se registra el último día del mes para alcanzar la rentabilidad mínima-, con abono al código correspondiente hasta tanto sea girada al portafolio.
1.1.7. Causación comisión por concepto de administración por tipo de fondo de pensiones obligatorias.
Con el propósito de contar con un procedimiento uniforme para todas las administradoras de pensiones en la causación del ingreso de la referencia, es conveniente aclarar:
1.1.7.1. En la cuenta correspondiente del Catálogo Único de Información Financiera las sociedades administradoras deben registrar el valor de la comisión por concepto de administración de los tipos de fondos, una vez los aportes que la originaron hayan sido abonados a la respectiva cuenta individual de ahorro pensional de cada afiliado.
1.1.7.2. Teniendo en cuenta que el valor causado por concepto de comisión por trasladar a la sociedad administradora en la contabilidad del tipo de fondo de pensiones obligatorias moderado debe traducirse en unidades, en tanto que la causación de dicho ingreso en la contabilidad de la sociedad debe efectuarse por el valor registrado en el formulario de autoliquidación de aportes, los saldos de dichas cuentas no coinciden, en razón a que el primero se encuentra incrementado por el abono de los rendimientos diarios. No obstante, al momento de ser trasladado a la administradora debe hacerse por el valor recibido y no por las unidades valoradas.
1.1.8. Comisión de manejo por administración de los portafolios de corto y largo plazo del fondo de cesantía - base de aplicación de la comisión.
La Sociedad Administradora debe cobrar una comisión de manejo uniforme y única para todos sus afiliados. Sin perjuicio de adelantar el procedimiento de modificación del reglamento de fondo, las modificaciones a dicha comisión de manejo deben ser informadas por la administradora a cada afiliado con no menos de quince (15) días hábiles de antelación con respecto al día en el cual dichos cambios comiencen a operar, mediante comunicación a la última dirección registrada de cada afiliado o aviso destacado en un diario de amplia circulación nacional, en el cual se exprese el porcentaje vigente al momento de la publicación y el nuevo porcentaje aprobado por la entidad, así como la fecha a partir de la cual comenzará a aplicarse la nueva comisión, todo ello sin perjuicio de la publicación de los cambios en carteleras dispuestas para el efecto en las oficinas de la administradora y de las de la red de oficinas de los establecimientos de crédito contratada para la atención al cliente. Cuando la modificación aprobada implique una reducción en la comisión de manejo, la misma puede avisarse con tres (3) días hábiles de antelación.
Las entidades deben acreditar el cumplimiento de esta exigencia ante la Superintendencia Financiera de Colombia mediante la remisión de una copia del aviso respectivo, dentro de los dos (2) días hábiles siguientes a su publicación, cuando la divulgación se realice a través de un diario de amplia circulación, o mediante certificación del representante legal y del revisor fiscal, en donde se precise la comisión de manejo a cobrar y se asegure haber enviado las comunicaciones exigidas.
1.1.8.1. Sobre el valor de los portafolios de corto y largo plazo del fondo de cesantías.
La Sociedad Administradora puede cobrar el porcentaje equivalente anual que determine, con sujeción a los límites establecidos por la Superintendencia Financiera de Colombia. Tal comisión es única para todos los afiliados y se liquida en forma diaria a una tasa que debe corresponder a 1/365 del porcentaje determinado y se debe aplicar con un mínimo de nueve (9) decimales -expresado en términos porcentuales.
Los porcentajes a aplicar en caso de que se cobre la comisión máxima autorizada por esta Superintendencia equivalen, en el caso del portafolio de corto plazo, al 0.002739726% del valor del portafolio, mientras que en el caso del portafolio de largo plazo al 0.008219178% del valor del portafolio.
Las fórmulas para el cálculo de dicha comisión se consignan a continuación:
X%
CMSP = --------- * VPC
365
Donde:
CMSP = Comisión diaria sobre el valor del portafolio
X% = Porcentaje de comisión sobre el valor del portafolio determinado por la Sociedad Administradora
VPC = Valor del portafolio al cierre del día t antes de rendimientos
Durante el respectivo mes la comisión sobre el valor del portafolio debe registrarse mediante abonos diarios a una cuenta por pagar con cargo a gastos del respectivo portafolio.
1.1.8.2. Sobre el valor de cada retiro anticipado.
La Sociedad Administradora puede cobrar una comisión, siempre y cuando sea uniforme y única para todos los afiliados, con sujeción al límite establecido por la Superintendencia Financiera de Colombia, el cual será máximo del 0.8% sobre el valor de cada retiro anticipado. Dicha comisión no puede recibirla la Sociedad Administradora mientras no se certifique el cumplimiento de la rentabilidad mínima al cierre del mes; entre tanto se debe contabilizar en cuentas de orden de los estados financieros del portafolio respectivo, las cuales se deben cancelar en caso de no lograr la rentabilidad mínima.
Por lo tanto, el valor liquidado como CMSRA debe permanecer en la cuenta de capitalización individual del afiliado hasta fin de mes, teniendo en cuenta que:
CMSRA = X% * VR
Donde:
CMSRA = Comisión sobre cada retiro anticipado
X% = Porcentaje de comisión sobre el retiro anticipado.
VR = Valor del retiro anticipado
En el evento en que un trabajador se retire definitivamente del portafolio habiendo efectuado retiros anticipados durante el mismo mes, las comisiones liquidadas por retiros parciales se deben descontar del valor a entregar al afiliado mediante un abono en cuentas por pagar que debe permanecer hasta fin del mes. Simultáneamente se debe cancelar el valor registrado en cuentas de orden.
1.2. FONDOS DE PENSIONES DE JUBILACION E INVALIDEZ (FONDOS DE PENSIONES VOLUNTARIAS)
1.2.1. Valor del fondo y su expresión en unidades. El valor de los fondos de pensiones voluntarias se determina en forma diaria y se expresa en pesos y en unidades. Las unidades miden el valor de los aportes de los afiliados y representan cuotas partes del valor patrimonial del fondo. El mayor valor de la unidad representa los rendimientos que se han obtenido.
Los aportes y traslados recibidos, los traslados a otras administradoras u otros fondos de la misma administradora, las mesadas pensionales, los retiros de aportes diferentes a mesadas pensionales, las comisiones diferentes a la de administración, los traslados a aseguradoras para rentas vitalicias, otros retiros y las anulaciones se expresan en unidades y tal conversión se efectúa al valor de la unidad calculado para el día t. Tales movimientos deben registrarse en unidades con una precisión de mínimo seis (6) decimales.
1.2.2. Precierre del fondo del día t. Sobre el valor del fondo al cierre de operaciones del día anterior (VFCt-1), para aquellos fondos cuya comisión se establezca con base en el valor del mismo, se calcula el valor de la comisión que cobrará la sociedad administradora. Una vez efectuado el cálculo, se procede a realizar el precierre del fondo del día t (PCF), de la siguiente manera:
PCF = VFCt-1 + RD
Donde:
PCFt = Precierre del fondo del día t
VFCt-1 = Valor del fondo al cierre de operaciones del día t-1
RD = Rendimientos abonados en el día t (ingresos menos gastos)
Para el efecto, los ingresos y gastos son:
Ingresos (ING)
- Los rendimientos financieros generados por los activos que conforman el fondo. Tratándose de la utilidad o pérdida en valoración de inversiones, cabe anotar que la misma debe ser la originada con base en los precios o tasas de referencia y márgenes, según lo dispuesto en el Capítulo I de esta Circular, publicados el día t.
- Utilidad en venta de activos
- Rendimientos provenientes de anulación de aportes
- Cualquier otro ingreso a favor del fondo
Gastos (GTS)
- Los gastos previstos en el reglamento respectivo.
Los pagos a comisionistas de bolsa deben quedar incluidos en el valor de compra de los títulos, por lo que no se deben incluir como gastos.
1.2.3. Valor de la unidad para las operaciones del día t. Una vez determinado el precierre del fondo del día t (PCF) conforme a lo dispuesto en el numeral anterior, se calcula el valor de la unidad para las operaciones del día t, de la siguiente manera:
PCF
VUO = ----------
NUCt-1
Donde:
VUO = Valor de la unidad para las operaciones del día t
PCF = Precierre del fondo del día t
NUCt-1 = Numero de unidades del Fondo al cierre de operaciones del día t-1
1.2.4. Valor del fondo al cierre del día t. Al precierre del fondo del día t (PCF), se suman los aportes y traslados recibidos y se deducen los traslados de aportes a otras administradoras u otros fondos de la misma administradora, las mesadas pensiónales, los retiros de aportes diferentes a mesadas pensionales, las comisiones diferentes a la de administración, los traslados a aseguradoras para rentas vitalicias, otros retiros y las anulaciones. Todos ellos expresados también en unidades al valor de la unidad calculado para el día t. El resultado es el valor del fondo al cierre del día t. (VFC), cuya expresión se determina en pesos así:
VFC = PCF + AT - TR - MP – RA - OC - RV - OR ± AN
Donde:
VFC = Valor del fondo al cierre del día t.
PCF = Precierre del fondo del día t
AT = Aportes y traslados recibidos de afiliados en el día t.
TR = Causación de pagos en el día t de los traslados de aportes a otras administradoras u otros fondos de la misma administradora.
MP = Causación de pagos en el día t de mesadas pensiónales.
RA = Causación de pagos en el día t de retiros de aportes diferentes a mesadas pensiónales.
OC = Causación de pagos en el día t de las comisiones diferentes a la de administración.
RV = Causación de pagos en el día t, por concepto de traslados a aseguradoras para el pago de pensión mediante la modalidad de renta vitalicia.
OR = Causación de pagos en el día t de otros retiros.
AN = Valor de las anulaciones en el día t.
En unidades así:
NUC = NUCt-1 + NUAT - NUTR – NUMP – NURA - NUOC - NURV - NUOR ± NUAN
Donde:
NUC = Número de unidades del fondo al cierre de operaciones del día t.
NUCt-1 = Número de unidades del fondo al cierre de operaciones del día t-1.
NUAT = Número de unidades por concepto de aportes y traslados recibidos de afiliados en el día t.
NUTR = Número de unidades retiradas por concepto de traslados de aportes a otras administradoras u otros fondos de la misma administradora.
NUMP = Número de unidades retiradas en el día t por concepto de mesadas pensionales.
NURA = Número de unidades retiradas durante el día t por concepto de retiro de aportes diferentes a mesadas pensionales.
NUOC = Número de unidades retiradas durante el día t por concepto de las comisiones diferentes a la de administración.
NURV = Número de unidades retiradas por concepto de traslados a aseguradoras para rentas vitalicias.
NUOR = Número de unidades por concepto de otros retiros de aportes en el día t.
NUAN = Número de unidades anuladas en el día t.
Para el día en que se inicie la operación del fondo, el valor de la unidad debe ser de $10.000.oo. De igual forma, Cuando un fondo voluntario esté compuesto por varios portafolios independientes entre sí y se cree un portafolio nuevo dentro del dicho fondo, el valor inicial de la unidad de este último debe ser de $10.000.oo.
1.2.5. Cálculo de la rentabilidad obtenida por el fondo
Esta rentabilidad debe ser reportada diariamente. Corresponde a la Tasa Interna de Retorno en términos anuales, del flujo de caja diario del período de cálculo que considera como ingresos el valor del fondo al inicio de operaciones del primer día de dicho período (VFCt-1) y el valor neto de los aportes diarios efectuados durante el mismo y como egreso el valor del fondo al cierre del último día del período de cálculo (VFC).
Se entiende como "valor neto de los aportes diarios" el valor que resulte de deducir a los aportes y traslados recibidos, los traslados de aportes a otras administradoras u otros fondos de la misma administradora, las mesadas pensionales, los retiros de aportes diferentes a mesadas pensionales, las otras comisiones (diferentes a la de administración), los traslados a aseguradoras para rentas vitalicias, otros retiros y las anulaciones. (Valor del fondo al cierre del día t, menos valor del precierre del día t).
Durante los primeros meses de existencia de cada fondo, se debe entender por período de cálculo el lapso comprendido entre el día de inicio de operaciones y la fecha de corte.
1.3. PROCEDIMIENTOS ESPECÍFICOS
1.3.1. De anulación. Las sumas recibidas por operaciones de consignación de aportes se deben abonar en las respectivas cuentas de patrimonio y traducir a unidades de acuerdo con el valor de la unidad que rige para las operaciones ese día. En el caso en el cual deba anularse la operación, se retirarán del patrimonio las mismas unidades que ingresaron, teniendo en cuenta que los rendimientos devengados por el mayor valor de la unidad no pertenecen al afiliado y, por tanto, se repartirán entre todos los afiliados el día de la anulación como un mayor ingreso del tipo de fondo de pensiones obligatorias o portafolio del fondo de cesantías que anula la operación. En el caso de los fondos de pensiones voluntarias, los rendimientos devengados por las operaciones anuladas se registran como una cuenta por pagar, la cual se cancela el día siguiente con abono a la cuenta de ingreso correspondiente.
1.3.2. De retiros
1.3.2.1. Tipos de fondos de pensiones obligatorias y portafolio del fondo de cesantía. Las sumas que se paguen por cualquier concepto de retiros o traslados a otros tipos de fondos de pensiones obligatorias o portafolios del fondo de cesantías sólo se descuentan de las respectivas cuentas de patrimonio el día en que efectivamente se realicen los pagos. Esto quiere decir que el número de unidades del retiro se calcula con el valor de la unidad que rija para las operaciones del día de pago y no con el valor de la unidad que rija el día de la solicitud del respectivo retiro. Para estos efectos, se entiende como día de pago aquel en el cual se pongan a disposición del afiliado las sumas correspondientes al retiro respectivo. Teniendo en cuenta que de conformidad con lo dispuesto en la Ley 100 de 1993 los recursos del Sistema General de Pensiones están destinados exclusivamente a dicho sistema y no pertenecen a las entidades que los administran y que, de acuerdo con lo establecido en la citada Ley y el Estatuto Orgánico del Sistema Financiero, en su orden, los fondos de pensiones y de cesantía son patrimonios autónomos, propiedad de los afiliados, independientes del patrimonio de la administradora, en ningún caso se podrán destinar los recursos de los tipos de fondos de pensiones obligatorias o portafolios del fondo de cesantías al pago de obligaciones de la sociedad administradora o de cualquier otro tercero.
En el caso de retiros parciales de los fondos de cesantía, se afectará en primera medida, los saldos disponibles en la subcuenta de corto plazo y el remanente se deducirá de aquellos que se encuentren en la subcuenta de largo plazo, tal como se dispuso en el Decreto 4600 de 2009 y demás normas que lo adicionen o modifiquen.
En aquellos casos en que la sociedad administradora del fondo de cesantía realice los pagos de retiros del portafolio de largo plazo a través del portafolio de corto plazo, los mismos se contabilizarán de la siguiente manera:
El portafolio de largo plazo contabilizará el valor de retiro con cargo a las cuentas de patrimonio y abono al disponible. Al momento de recibir los recursos, el portafolio de corto plazo los contabilizará con cargo al disponible y abono a la cuenta correspondiente del Catálogo Único de Información Financiera. La citada cuenta por pagar deberá cancelarse el mismo día de recepción de los recursos con abono al disponible, con el fin de poner a disposición de los respectivos beneficiarios, los mencionados pagos.
En aquellos eventos en que la sociedad administradora de los tipos de fondos de pensiones obligatorias deba realizar pagos que involucren recursos de más de un tipo de fondo, los mismos se efectuarán a través del tipo de fondo moderado. En consecuencia, dichos pagos se contabilizarán de la siguiente manera:
El tipo de fondo conservador, de mayor riesgo o especial de retiro programado contabilizará el valor del retiro con cargo a las cuentas de patrimonio y abono al disponible. Al momento de recibir los recursos, el tipo de fondo moderado los contabilizará con cargo al disponible y abono a la cuenta correspondiente del Catálogo Único de Información Financiera. La citada cuenta por pagar deberá cancelarse el mismo día de recepción de los recursos mediante el giro de los mismos al respectivo beneficiario, con abono al disponible.
1.3.2.2. Fondos de pensiones voluntarias. Los pagos por concepto de retiros de aportes, o traslados a otros fondos, deben efectuarse al valor de la unidad que rige para las operaciones del día en que se causen los mismos, con cargo a cuentas de patrimonio y abono a cuentas por pagar. En consecuencia, el pago efectivo del retiro debe efectuarse a más tardar el día siguiente al de su causación, sin perjuicio de la observancia de los plazos establecidos en el reglamento respectivo. Para el efecto, se entiende como pago efectivo el día en que se colocan los recursos a disposición del beneficiario.
1.3.3. De traspasos entre tipos de fondos o portafolios.
Los traspasos de recursos que se realicen entre los tipos de fondos de pensiones obligatorias o portafolios de los fondos de cesantía administrados por la misma sociedad administradora, sólo se descuentan de las respectivas cuentas de patrimonio del tipo de fondo o portafolio que los traspasa, el día en que efectivamente son recibidos dichos recursos en el tipo de fondo o portafolio al cual se traspasan.
2. ENTIDADES ADMINISTRADORAS DEL REGIMEN SOLIDARIO DE PRIMA MEDIA CON PRESTACION DEFINIDA
2.1 PROCEDIMIENTO PARA EL TRASLADO DE ACTIVOS Y PASIVOS A LOS FONDOS DE PENSIONES TERRITORIALES.
Con el propósito de garantizar que el traslado de las reservas e información relacionadas con pensiones (historias laborales) que manejan las cajas o fondos pensionales públicos del nivel territorial declaradas insolventes, se efectúe con sujeción a la ley, se deben atender las siguientes instrucciones:
2.1.1. Cierre. Las entidades, Cajas o Fondos de Previsión Social que en desarrollo del artículo 6 del Decreto 1296 de 1994 o en los términos del Decreto 1068 de 1995, hayan sido declaradas insolventes por la respectiva autoridad del nivel departamental, municipal y distrital para continuar administrando el sistema general de pensiones, deben efectuar un corte de ejercicio y elaborar el balance general en la fecha señalada en el acto administrativo en que sean sustituidas por el Fondo de Pensiones Territoriales, cuyo plazo no puede exceder del 31 de diciembre de 1995.
Dicho estado financiero, autorizado por la respectiva auditoría externa o entidad de control, debe incorporar los ajustes contables pertinentes que resulten de la depuración de los saldos que conforman cada una de sus cuentas.
Debe advertirse que a partir de la fecha fijada para la sustitución, tales entidades no pueden celebrar nuevos actos u operaciones relacionadas con las áreas de pensiones, salvo aquellos expresamente señalados por el decreto 1296 mencionado o en sus estatutos para la inmediata terminación del negocio de pensiones que administran.
2.1.2. Identificación. Al momento de la sustitución, la respectiva caja, fondo o entidad de previsión social deberá hacer entrega al Fondo de Pensiones Territorial, mediante acta suscrita con la participación de la entidad de control respectiva, de la relación de los afiliados que tienen el status
| TEMA: | Valoración de los Tipos de Fondos de Pensiones Obligatorias y Portafolios de Corto y Largo Plazo del Fondo de Cesantía. |
| NOMBRE DE PROFORMA: | Informe Diario - Valoración de los tipos de fondos de pensiones obligatorias y portafolios de corto y largo plazo del fondo de cesantía. |
| NUMERO DE PROFORMA: | F. 6000 – 03 |
| NUMERO DE FORMATO: | 135 Valores de Unidad de los tipos de fondos de pensiones obligatorias o portafolios del fondo de cesantía. 136 Valoración de los tipos de fondos de pensiones obligatorias o portafolios del fondo de cesantía. 137 Rentabilidad de los tipos de fondos de pensiones obligatorias o portafolios del fondo de cesantía (en términos efectivos anuales). |
| OBJETIVO: | Mantener información oportuna y actualizada de los recaudos y retiros de los tipos de fondos de pensiones obligatorias y portafolios de corto y largo plazo del fondo de Cesantía con el fin de establecer el adecuado cálculo del valor de la unidad de operación. |
| TIPO DE ENTIDAD A LA QUE APLICA: | Sociedades Administradoras de Fondos de Pensiones y de Cesantías del Régimen de Ahorro Individual con Solidaridad (Formatos 135 - 136 – 137). Caja de Auxilios y Prestaciones de la Asociación Colombiana de Aviadores Civiles “CAXDAC” (Formatos 136 - 137). |
| PERIODICIDAD: | Diaria. |
| FECHA DE CORTE DE LA INFORMACIÓN: | Diaria. |
| FECHA DE REPORTE: | Diaria. Hasta las doce de la noche del segundo día común siguiente a la fecha de corte. |
| DOCUMENTO TÉCNICO: | SB DS 003. |
| TIPO Y NUMERO DEL INFORME: | 17 Informe diario de valoración de los tipos de fondos de pensiones obligatorias y cesantía. |
| MEDIO DE ENVÍO: | WEB. |
| DEPENDENCIA RESPONSABLE: | Delegatura para Pensiones |
INSTRUCTIVO:
GENERALIDADES
Consideraciones a tener en cuenta para la transmisión:
a) Transmitir diariamente un (1) sólo archivo. Este debe contener la información de los tipos de fondos de pensiones obligatorias, así como la de los portafolios de largo plazo y corto plazo, del fondo de cesantía administrados por la Entidad. El mismo debe comenzar con la de los portafolios de largo y corto plazo del fondo de cesantía y continuar con la de los tipos de fondos de pensiones obligatorias moderado, seguido de los fondos conservador, de mayor riesgo y especial de retiro programado. CAXDAC transmitirá exclusivamente la información de los fondos legales, bajo la estructura del fondo moderado.
b) El plazo para la transmisión de la información correspondiente del día, vence a las doce de la noche del segundo día común siguiente. Cuando el vencimiento corresponda a un sábado, domingo, festivo o autorizaciones de cierre de oficinas como las de fin de año, el plazo máximo vence a las doce del día del día hábil siguiente.
c) Cualquier transmisión extemporánea debe ser previamente autorizada por la Dirección de Ahorro Individual y Prima Media.
d) La Superintendencia Financiera de Colombia comunicará a la entidad cualquier suspensión temporal del proceso durante el día y acordará las acciones tendientes a corregir las inconsistencias, el siguiente día hábil.
e) Los datos en pesos ($) y porcentajes (%) deben ser transmitidos con dos (2) decimales, y los datos correspondientes a las unidades con seis (6) decimales.
f) Todos los valores deben ser positivos, excepto los valores por concepto de traslados de aportes a las demás administradoras del Régimen de Ahorro Individual, anulaciones y rendimientos abonados en el día (formato 136, subcuenta 100 y 295 de las unidades de captura 03 y 04, y subcuenta 045 de la unidad de captura 02) que, en caso de ser negativos, se les antepondrá el signo menos (-)
g) La Caja de Auxilios y de Prestaciones de la Asociación Colombiana de Aviadores Civiles “CAXDAC” sólo diligenciará las columnas correspondientes a pesos ($).
h) La presente proforma debe ser remitida con la firma digital del Representante Legal.
Conformación del archivo:
Cada tipo de fondo de pensiones obligatorias o portafolios de corto y largo plazo del fondo de cesantía a reportar deberá ser identificado a través del registro tipo 2 y a continuación los registros tipo 4 con la información correspondiente a los formatos, conservando las especificaciones y clasificación consignadas en el documento técnico SB-DS-003.
ENCABEZADO:
Entidad: Indique el tipo de entidad a la que pertenece, el código de la entidad asignado por la Superintendencia Financiera de Colombia y el nombre o sigla de la entidad.
Fondo: Indique el tipo, código y nombre del tipo de fondo de pensiones obligatorias o Portafolio del fondo de cesantía.
Valoración: Indique la fecha de corte de la información bajo el formato DDMMAAAA.
CUERPO DEL FORMATO:
Para la descripción que se da en los siguientes formatos, se considera que se está transmitiendo información del día t.
FORMATO 135 - VALORES DE UNIDAD DEL TIPO DE FONDO DE PENSIONES OBLIGATORIAS O PORTAFOLIOS DEL FONDO DE CESANTÍA
| Unidad Subcta Columna Captura | Descripción |
| 01 006 01 | Valor de la unidad al cierre del día anterior VUC (t-1). Corresponde al valor de la unidad que rige para las operaciones del día t. |
| 01 011 01 | Valor de la unidad al cierre del día t. Es el valor calculado al cierre de las operaciones del día que se está reportando VUC (t). |
FORMATO 136 - VALORACIÓN DE LOS TIPOS DE FONDOS DE PENSIONES OBLIGATORIAS O PORTAFOLIOS DEL FONDO DE CESANTIA
Unidad de Captura 01 – Eliminada.
Unidad de Captura 02 – Rendimientos abonados
| 02 045 02 | Rendimientos abonados en el día t: El valor registrado en este campo debe ser igual al movimiento diario presentado en el código 58 “Rendimientos Abonados” del Catálogo Único de Información Financiera con Fines de Supervisión, expresado en pesos. Este valor podrá ser positivo o negativo según el caso. |
Unidad De Captura 03 – Portafolios de Corto y Largo Plazo de Fondo de Cesantías
| Unidad Subcta Columna Captura | Descripción |
| 03 005 01 y 02 | Valor del portafolio al inicio de operaciones. Corresponde al valor del portafolio de Corto o Largo Plazo del Fondo de Cesantías al cierre del día anterior. Expresado en unidades y en pesos. |
| 04 080 01 y 02 | Corresponde a los aportes recibidos en el tipo de fondo de mayor riesgo, como consecuencia del traspaso de aportes de los demás fondos, originados por los cambios de tipo de fondo de afiliados. Expresado en unidades y en pesos. (Suma para el fondo de mayor riesgo y resta para los fondos moderado o conservador. No aplica para el fondo especial de retiro programado) |
| 04 085 01 y 02 | Corresponde a los traspasos de aportes de los afiliados que asignados por defecto al tipo de fondo moderado, eligieron por primera vez tipo de fondo (conservador o de mayor riesgo). Expresado en unidades y en pesos. (Suma para el fondo conservador o de mayor riesgo y resta para el fondo moderado. No aplica para el fondo especial de retiro programado) |
| 04 090 01 y 02 | Corresponde a los aportes recibidos en el tipo de fondo conservador, como consecuencia de la aplicación de las reglas de convergencia. Expresado en unidades y en pesos. (Suma para el fondo conservador y resta para los fondos moderado o de mayor riesgo. No aplica para el fondo especial de retiro programado) |
| 04 092 01 y 02 | Corresponde a los aportes recibidos en el tipo de fondo moderado, como consecuencia de la aplicación de las reglas de convergencia y asignación por defecto. Expresado en unidades y en pesos. (Suma para el fondo moderado y resta para el fondo de mayor riesgo. No aplica para los fondos conservador y especial de retiro programado) |
| 04 095 01 y 02 | Corresponde a los aportes recibidos en el tipo de fondo especial de retiro programado, como consecuencia de la selección del afiliado de la modalidad de pensión de retiro programado. Expresado en unidades y en pesos. (Suma para el fondo especial de retiro programado y Resta para el tipo de fondo que traspasa los aportes) |
| 04 100 01 y 02 | Corresponde a los aportes recibidos en el tipo de fondo especial de retiro programado, como consecuencia de la selección del afiliado de la modalidad de pensión de retiro programado con renta vitalicia diferida. Expresado en unidades y en pesos. (Suma para el fondo especial de retiro programado y Resta para el tipo de fondo que traspasa los aportes) |
| 04 105 01 y 02 | Corresponde a los traspasos de aportes del fondo especial de retiro programado a los demás tipos de fondos, como consecuencia de la pérdida de status de pensionado. Expresado en unidades y en pesos. (Suma para el fondo que recibe los aportes y resta para el fondo especial de retiro programado) |
| 04 110 01 y 02 | Corresponde al valor de los traspasos de aportes al Fondo Conservador, cuando exista certeza respecto de la muerte de un afiliado no pensionado o se encuentre en firme el dictamen que determine su invalidez. Expresado en unidades y en pesos. (Suma para el fondo conservador y resta para el fondo moderado o de mayor riesgo. No aplica para el fondo especial de retiro programado). |
| 04 115 01 y 02 | Corresponde al valor de los aportes recibidos por el tipo de fondo moderado administrado por Protección S.A., como consecuencia de los traslados efectuados por los fondos administrados por las demás administradoras. Expresado en unidades y en pesos. (Suma para el fondo moderado administrado por Protección y resta para el tipo de fondo al cual pertenecía el afiliado en la administradora que traslada los aportes. No aplica para el fondo especial de retiro programado) |
| 04 120 01 y 02 | Corresponde al valor de los aportes recibidos por el tipo de fondo moderado administrado por Porvenir S.A., como consecuencia de los traslados efectuados por los fondos administrados por las demás administradoras. Expresado en unidades y en pesos. (Suma para el fondo moderado administrado por Porvenir y resta para el tipo de fondo al cual pertenecía el afiliado en la administradora que traslada los aportes. No aplica para el fondo especial de retiro programado) |
| programado por pérdida de status de pensionado, traslados de aportes recibidos por los tipos de fondos moderado administrados por otras AFPs, traslados de aportes recibidos de Colpensiones, de otras administradoras de prima media, traslados recibidos del fondo de cesantías de recursos del Mecanismo de Protección al Cesante, otros valores recibidos, anulaciones y restarle los traspasos de aportes al fondo conservador por distribución de recaudos, traspaso de aportes al fondo de mayor riesgo por distribución de recaudos, traspaso de aportes al fondo especial de retiro programado por distribución de recaudos, traspaso de aportes al fondo conservador por cambio de tipo de fondo, traspaso de aportes al fondo de mayor riesgo por cambio de tipo de fondo, traspaso de aportes del fondo moderado por elección del tipo de fondo, traspaso de aportes al fondo conservador por convergencia, traspaso de aportes al fondo moderado por convergencia, traspaso de aportes al fondo especial de retiro programado por selección pensión retiro programado, traspaso de aportes al fondo especial de retiro programado por selección pensión retiro programado con renta vitalicia diferida, traspaso de aportes al fondo conservador en caso de muerte o invalidez, traslados de aportes efectuados a los tipos de fondos moderado administrados por otras AFPs, traslados de aportes a Colpensiones y a otras administradoras de prima media, pago de mesadas retroactivas, retiros de aportes voluntarios, devolución de saldos destinados al mecanismo BEPS, seguros previsionales, comisión de administración cotizaciones obligatorias, comisión de administración recursos de afiliados cesantes, comisión de administración por traslados de afiliados, comisión de administración aportes voluntarios, traslados al FSP subcuenta solidaridad, traslados al FSP subcuenta subsistencia afiliados, traslados al FGPM del Régimen de Ahorro Individual, pagos rentas vitalicias inmediatas, pagos rentas vitalicias diferidas, retiros reserva de estabilización de rendimientos, devolución de excedentes de libre disponibilidad, devolución pagos en exceso, otros valores retirados y anulaciones. Expresado en unidades y en pesos. (Este valor solo podrá ser positivo). | |
| Para el tipo de fondo de pensiones obligatorias conservador, corresponde al resultado de sumarle al valor del fondo al inicio de operaciones, cubrimiento saldos negativos incobrables, recursos recibidos para reserva de estabilización de rendimientos, traspaso de aportes al fondo conservador por distribución de recaudos, traspaso de aportes al fondo conservador por cambio de tipo de fondo, traspaso de aportes del fondo moderado por elección del tipo de fondo, traspaso de aportes al fondo conservador por convergencia, traspaso de aportes del fondo especial de retiro programado por pérdida de status de pensionado, traspaso de aportes al fondo conservador en caso de muerte o invalidez, otros valores recibidos, anulaciones y restarle los traspasos de aportes al fondo moderado por cambio de tipo de fondo, traspaso de aportes al fondo de mayor riesgo por cambio de tipo de fondo, traspaso de aportes al fondo especial de retiro programado por selección pensión retiro programado, traspaso de aportes al fondo especial de retiro programado por selección pensión retiro programado con renta vitalicia diferida, traslados de aportes efectuados a los tipos de fondos conservador administrados por otras AFP, traslados de aportes a Colpensiones y a otras administradoras de prima media, pago de mesadas retroactivas, retiros de aportes voluntarios, devoluciones de saldos por vejez, devoluciones de saldos por invalidez, devoluciones de saldos a sobrevivientes, devolución de saldos destinados al mecanismo BEPS, comisión de administración recursos afiliados cesantes, comisión de administración por traslados de afiliados, comisión de administración aportes voluntarios, pagos rentas vitalicias inmediatas, pagos rentas vitalicias diferidas, retiros reserva de estabilización de rendimientos, devolución de excedentes de libre disponibilidad, retiros para la masa sucesoral de bienes del causante, retiros para el fondo de solidaridad pensional por no existir causahabientes, otros valores retirados y anulaciones. Expresado en unidades y en pesos. (Este valor solo podrá ser positivo). | |
| Para el tipo de fondo de pensiones obligatorias de mayor riesgo, corresponde al resultado de sumarle al valor del fondo al inicio de operaciones, cubrimiento saldos negativos incobrables, recursos recibidos para reserva de estabilización de rendimientos, traspaso de | |
| aportes al fondo de mayor riesgo por distribución de recaudos, traspaso de aportes al fondo de mayor riesgo por cambio de tipo de fondo, traspaso de aportes del fondo moderado por elección del tipo de fondo, traspaso de aportes del fondo especial de retiro programado por pérdida de status de pensionado, otros valores recibidos, anulaciones y restarle los traspasos de aportes al fondo conservador por cambio de tipo de fondo, traspaso de aportes al fondo moderado por cambio de tipo de fondo, traspaso de aportes al fondo conservador por convergencia, traspaso de aportes al fondo moderado por convergencia, traspaso de aportes al fondo especial de retiro programado por selección pensión retiro programado, traspaso de aportes al fondo especial de retiro programado por selección pensión retiro programado con renta vitalicia diferida, traspaso de aportes al fondo conservador en caso de muerte o invalidez, traslados de aportes efectuados a los tipos de fondos de mayor riesgo administrados por otras AFP, traslados de aportes a Colpensiones y a otras administradoras de prima media, pago de mesadas retroactivas, retiros de aportes voluntarios, comisión de administración recursos afiliados cesantes, comisión de administración por traslados de afiliados, devolución de saldos destinado al mecanismo BEPS, comisión de administración aportes voluntarios, pagos rentas vitalicias inmediatas, pagos rentas vitalicias diferidas, retiros reserva de estabilización de rendimientos, devolución de excedentes de libre disponibilidad, otros valores retirados y anulaciones. Expresado en unidades y en pesos. (Este valor solo podrá ser positivo). | |
| Para el fondo especial de retiro programado, corresponde al resultado de sumarle al valor del fondo al inicio de operaciones, reintegro giros de mesadas pensionales, recursos recibidos para reserva de estabilización de rendimientos, traspaso de aportes al fondo especial de retiro programado por distribución de recaudos, traspaso de aportes al fondo especial de retiro programado por selección pensión retiro programado, traspaso de aportes al fondo especial de retiro programado por selección pensión retiro programado con renta vitalicia diferida, otros valores recibidos, anulaciones y restarle los traspasos de aportes del fondo especial de retiro programado por pérdida de status de pensionado, pagos mesadas pensionales, pago de mesadas retroactivas, retiros de aportes voluntarios, comisión de administración pensión retiro programado, comisión de administración aportes voluntarios, traslados al fondo de solidaridad pensional subcuenta subsistencia pensionados, pagos rentas vitalicias inmediatas, pagos rentas vitalicias diferidas, retiros reserva de estabilización de rendimientos, devolución de excedentes de libre disponibilidad, retiros para la masa sucesoral de bienes del causante, retiros para el fondo de garantía de pensión mínima por no existir causahabientes, otros valores retirados y anulaciones. Expresado en unidades y en pesos. (Este valor solo podrá ser positivo). | |
| 04 305 01 y 02 | Valor del tipo de fondo de Pensiones Obligatorias al cierre del día t incluidos los rendimientos (NUC, VFCR): Este valor debe corresponder a la suma del valor del tipo de fondo de Pensiones Obligatorias al cierre del día - antes de rendimientos y el valor de los rendimientos abonados en el día. Su saldo debe ser igual al registrado en el código 33 “Patrimonio Autónomo” FP del Catálogo Único de Información Financiera con Fines de Supervisión. Expresado en unidades y en pesos. (Este valor solo podrá ser positivo). |
FORMATO 137 - RENTABILIDAD DE LOS TIPOS DE FONDOS DE PENSIONES OBLIGATORIAS O PORTAFOLIOS DEL FONDO DE CESANTÍA (EN TERMINOS EFECTIVOS ANUALES)
| Unidad Subcta Columna Captura | Descripción |
| 01 005 01 | Rentabilidad diaria: Este valor corresponde al cálculo de la rentabilidad diaria de acuerdo con las instrucciones del subnumeral 1.1.5. del Capítulo XII de la Circular Básica Contable y Financiera. |
| 01 010 01 | Rentabilidad acumulada del tipo de fondo de pensiones obligatorias o portafolio del fondo de cesantías: Esta rentabilidad será reportada diariamente y calculada de acuerdo con las instrucciones del subnumeral 1.1.5. del Capítulo XII de la Circular Básica Contable y Financiera. El período de cálculo para los tipos de fondos de pensiones obligatorias y los portafolios del fondo de cesantías corresponde al período de cálculo de la rentabilidad mínima obligatoria establecido para cada uno de los fondos o portafolios. Para el Fondo Especial de Retiro Programado, el periodo de cálculo de la rentabilidad acumulada se debe ajustar a la transición para la revisión y verificación de rentabilidad mínima establecida en el numeral 1 del artículo 7 del Decreto 059 de 2018. Para la Caja de Auxilios y Prestaciones de la Asociación Colombiana de Aviadores Civiles “CAXDAC”, el período de cálculo será el correspondiente a los últimos 36 meses. |
PARTE I.
INSTRUCCIONES GENERALES APLICABLES A LAS ENTIDADES VIGILADAS.
TÍTULO II.
PRESTACIÓN DE LOS SERVICIOS FINANCIEROS.
CAPÍTULO II.
PRESTACIÓN TRANSFRONTERIZA DE SERVICIOS FINANCIEROS.
6.2.4.5. La fecha hora y lugar de la clausura de la asamblea.
Al día hábil siguiente, el depósito de valores local debe remitir por correo electrónico esta información al depósito de valores extranjero con el objeto de que este a su vez la haga conocer a los inversionistas extranjeros que han sido representados en la asamblea.
7. RECONOCIMIENTO DE Jurisdicciones, MERCADOS Y/o ENTIDADES aceptables a juicio de la Superintendencia Financiera de Colombia
7.1. Oferta pública
Para efectos de lo dispuesto en el numeral 5 del art. 6.11.1.1.1 del Decreto 2555 de 2010, según el cual corresponde a la SFC determinar lo que a su juicio son bolsas de valores internacionalmente reconocidas, se entiende que son jurisdicciones aceptables las que cumplan alguna de las siguientes condiciones:
7.1.1. Aquellos países en los cuales una entidad vigilada por esta Superintendencia tenga una inversión directa debidamente autorizada.
7.1.2. Aquellos países cuyos organismos de supervisión hayan suscrito memorandos de entendimiento para intercambio de información con esta Superintendencia.
7.1.3. Aquellos países que la SFC reconozca como tal dentro del trámite de autorización de la oferta pública.
7.2. Regímenes de inversión de las reservas técnicas de las entidades aseguradoras y sociedades de capitalización, de los recursos de los fondos de pensiones obligatorias, y de los recursos del Fondo Nacional de Pensiones de las Entidades Territoriales – FONPET y otros patrimonios autónomos públicos destinados a la garantía y pago de pensiones.
Para efectos de lo dispuesto en los subnumerales 3.4.1. y 3.4.2 del Título 3 del Libro 31 y 3.5.1. y 3.5.2. del Título 12 del Libro 6 de la Parte 2 del Decreto 2555 de 2010, se consideran como cámaras de riesgo central de contraparte autorizadas por la SFC para la negociación de instrumentos financieros derivados tanto con fines de cobertura como con fines de inversión, aquellas publicadas por esta Superintendencia en la página web.
En esta misma página se encuentran los sistemas de información de precios de que tratan los literales b del subnumeral 3.4.2. del Título 3 del Libro 31, y b del subnumeral 3.5.2. del Título 12 del Libro 6 de la Parte 2 del Decreto 2555 de 2010.
Las bolsas y entidades de que tratan los literales g del numeral 7 del parágrafo del artículo 2.31.3.1.2 del Título 3 del Libro 31 y g del numeral 7 del parágrafo del artículo 2.6.12.1.2 del Título 12 del Libro 6 de la Parte 2 del Decreto 2555 de 2010, así como las bolsas de valores en las que se podrán transar las inversiones descritas en los subnumerales 2.6.2 del artículo 2.31.3.1.2 y 2.6.2 del artículo 2.6.12.1.2 para los fines previstos en los artículos 2.31.3.1.19 y 2.6.12.1.16 del Decreto 2555 de 2010 y el artículo 2.12.3.19.10 del Decreto 1068 de 2015 serán las publicadas por esta Superintendencia en la página web.
PARTE II.
MERCADO INTERMEDIADO.
TÍTULO III.
INSTRUCCIONES GENERALES RELATIVAS A LAS OPERACIONES DE LAS ENTIDADES ADMINISTRADORAS DE PENSIONES Y CESANTÍAS.
CAPÍTULO V.
DISPOSICIONES COMUNES A LOS PATRIMONIOS AUTÓNOMOS O ENCARGOS FIDUCIARIOS QUE CONSTITUYAN LAS ENTIDADES TERRITORIALES, SUS DESCENTRALIZADAS Y ECOPETROL PARA GARANTIZAR EL CUMPLIMIENTO DE DETERMINADAS OBLIGACIONES PENSIONALES.
CONTENIDO
8. Cálculo del cociente de ingreso por comisión de administración de recursos del Fonpet
En atención lo dispuesto en el parágrafo 2 del art. 2.6.1.1.7 del Decreto 2555 de 2010 corresponde a la SFC determinar la manera en que debe realizarse el cálculo del cociente de ingreso por comisiones del FONPET para aquellas sociedades administradoras que no tengan información para los 3 años anteriores, bajo un mismo contrato de administración.
Para tal efecto, el citado cociente debe calcularse de la siguiente manera:
C I = PAI / PMA
Donde:
CI = Cociente de ingresos por comisiones de administración de recursos del FONPET.
PAI = Promedio anual de los últimos 3 años de los ingresos por comisión de administración de los recursos del Fonpet.
PMA = Promedio mensual de los últimos 3 años de los activos de los patrimonios autónomos mediante los cuales se administraron recursos de FONPET.
En concordancia con lo anterior, esta Superintendencia divulga mensualmente el cociente de ingresos por comisiones de administración que las entidades deben aplicar al valor promedio mensual de los activos administrados, cuando bajo un mismo contrato administren recursos del FONPET durante un período inferior a 3 años.
9. Separación contable
Las AFP y las sociedades fiduciarias deben mantener los activos y pasivos de los patrimonios autónomos y encargos fiduciarios de que trata este Capítulo separados de los demás activos de su propiedad y de los fondos administrados.
Igualmente, por cada patrimonio autónomo o encargo fiduciario deben mantener cuentas corrientes o de ahorro destinadas exclusivamente a manejar los recursos de cada uno de ellos, identificando claramente el nombre de la entidad a la cual corresponde.
En el evento en que una entidad territorial o descentralizada decida constituir un solo patrimonio autónomo o encargo fiduciario para la garantía y pago de bonos, cuotas partes de bonos pensionales, cuotas partes pensionales u otras obligaciones pensionales, según corresponda de conformidad con lo establecido en el numeral 2 de este Capítulo, la entidad administradora del mismo debe identificar el valor de los aportes, los retiros y el saldo de cada uno de dichos conceptos, tanto en unidades como en pesos. Para el efecto, su registro contable en las cuentas patrimoniales debe identificarse a nivel de 7 u 8 dígitos y los libros auxiliares de dichas cuentas deben revelar el movimiento y saldo de cada concepto.
10. Fondos de pensiones voluntarios
De acuerdo con lo establecido en el inciso segundo del numeral 3, art. 169 del EOSF, las prestaciones percibidas en virtud de los planes voluntarios de pensiones administrados por las sociedades administradoras de fondos de pensiones, las sociedades fiduciarias o las compañías de seguros, son independientes del régimen de seguridad social y de cualquier otro régimen pensional. En consecuencia, los recursos a que se refiere el Decreto 810 de 1998 en ningún caso pueden ser administrados a través de fondos voluntarios de pensiones.
11. Entidades autorizadas para administrar los recursos correspondientes a pasivos pensionales a cargo de la Empresa Colombiana de Petróleos
Ecopetrol debe constituir uno o varios patrimonios autónomos como garantía y fuente de pago de su pasivo pensional, los cuales pueden ser administrados por AFP o por sociedades fiduciarias según lo previsto en el Decreto 876 de 1998.
Las sociedades administradoras de dicho patrimonio o patrimonios autónomos deben observar, en cuanto fuere pertinente y de acuerdo con la naturaleza del respectivo contrato, las instrucciones contenidas en el presente capítulo. En todo caso deben identificar, a nivel de cuentas auxiliares, el manejo de cada uno de los pasivos (bonos pensionales, cuotas partes de bonos pensionales y otras obligaciones pensionales plenamente identificadas).
12. MECANISMO DE RESGISTRO DE OPERACIONES
Las entidades Administradoras de los recursos del Fondo Nacional de Pensiones de las Entidades Territoriales – FONPET y otros patrimonios autónomos públicos destinados a la garantía y pago de pensiones deben implementar un mecanismo que permita identificar de manera completa, clara y suficiente cada operación y el portafolio para el cual se efectúa la misma. Para el efecto estas entidades deben aplicar las disposiciones contenidas en el numeral 1 del Capítulo IV del Título III la Parte II de esta Circular.
Las notas de vigencia, concordancias, notas del editor, forma de presentación y disposición de la compilación están protegidas por las normas sobre derecho de autor. En relación con estos valores jurídicos agregados, se encuentra prohibido por la normativa vigente su aprovechamiento en publicaciones similares y con fines comerciales, incluidas -pero no únicamente- la copia, adaptación, transformación, reproducción, utilización y divulgación masiva, así como todo otro uso prohibido expresamente por la normativa sobre derechos de autor, que sea contrario a la normativa sobre promoción de la competencia o que requiera autorización expresa y escrita de los autores y/o de los titulares de los derechos de autor. En caso de duda o solicitud de autorización puede comunicarse al teléfono 617-0729 en Bogotá, extensión 101. El ingreso a la página supone la aceptación sobre las normas de uso de la información aquí contenida.