Derechos de autor reservados - Prohibida su reproducción
RESOLUCION 1274 DE 2005
(junio 24)
Diario Oficial No. 45.963 de 08 de julio de 2005
MINISTERIO DE COMERCIO, INDUSTRIA Y TURISMO
<NOTA DE VIGENCIA: Resolución derogada por el artículo 21 de la Resolución 1949 de 2009, sin embargo establece el artículo 17 de la misma: "Hace parte integrante de la presente resolución el texto de la NTC 1570, Tercera actualización del 23 de abril de 2003, publicada con la Resolución 1274 del 24 de junio de 2005 en el Diario Oficial 45963 del 8 de julio de 2005.">
Por la cual se expide el Reglamento Técnico para Cinturones de Seguridad que se fabriquen o importen o comercialicen para uso en vehículos automotores y sus remolques, que circulen en Colombia.
EL MINISTRO DE COMERCIO, INDUSTRIA Y TURISMO,
en ejercicio de sus facultades legales y en especial las conferidas en el Decreto ley 210 del 3 de Febrero de 2003 y en la Decisión 562 de 2003 de la Comisión de la Comunidad Andina, y
CONSIDERANDO:
Que de acuerdo con lo previsto en el artículo 78 de la Constitución Política de Colombia, serán responsables, de acuerdo con la ley, quienes en la producción y en la comercialización de bienes y servicios, atenten contra la salud, la seguridad y el adecuado aprovisionamiento a consumidores y usuarios;
Que el Acuerdo sobre Obstáculos Técnicos al Comercio de la Organización Mundial del Comercio, al cual adhirió Colombia a través de la Ley 170 de 1994 y la Decisión 419 de la Comisión de la Comunidad Andina, establecen que los países tienen derecho a adoptar las medidas necesarias para asegurar la calidad de sus exportaciones, o para la protección de la salud y la vida de las personas, para la protección del medio ambiente, o para la prevención de prácticas que pueden inducir a error, para lo cual pueden adoptar reglamentos técnicos que incluyan prescripciones en materia de terminología, símbolos, embalaje, marcado o etiquetado aplicable a productos;
Que tal como se contempla en el numeral 2.2 del artículo 2o del Acuerdo sobre Obstáculos Técnicos al Comercio de la Organización Mundial del Comercio; en el artículo 14-01 del Tratado de Libre Comercio con los Estados Unidos Mexicanos y la República de Venezuela; y, en el artículo 26 de la Decisión Andina 376 de 1995, los reglamentos técnicos se establecen para garantizar, entre otros, los siguientes objetivos legítimos: Los imperativos de la seguridad nacional; la protección de la salud o seguridad humanas, de la vida o la salud animal o vegetal, o del medio ambiente y la prevención de prácticas que puedan inducir a error a los consumidores;
Que la Decisión 506 de 2001 expedida por la Comisión de la Comunidad Andina decidió sobre el reconocimiento y aceptación de certificados de productos a ser comercializados en la Comunidad Andina y que la Decisión 562 del 25 de junio de 2003 de la Comisión de la Comunidad Andina, aprobó directrices para la elaboración, adopción y aplicación de Reglamentos Técnicos en los países miembros de la Comunidad Andina y a Nivel Comunitario;
Que en el artículo 3o de la Ley 155 de 1959 se establece que le corresponde al Gobierno Nacional intervenir en la fijación de normas sobre calidad de los productos, con miras a defender el interés de los consumidores y de los productores de materias primas;
Que conforme se dispone en los artículos 7o y 8o del Decreto 2269 de 1993, en correspondencia con el Decreto 300 de 1995, se deberá demostrar la conformidad de un bien o servicio con norma obligatoria o reglamento técnico a que se encuentre sujeto antes de su comercialización, independientemente que se produzcan en Colombia o que se importen, de acuerdo con el procedimiento establecido para el efecto;
Que mediante el Decreto 300 de febrero 10 de 1995, el Gobierno Nacional estableció el procedimiento para verificar el cumplimiento de los reglamentos técnicos en los productos importados;
Que con el propósito de prevenir los riesgos derivados de los accidentes automovilísticos, y para proteger la vida, la salud y eliminar prácticas que puedan inducir a error a los consumidores, este Ministerio elaboró el presente reglamento técnico de los Cinturones de Seguridad, para vehículos automotores y sus remolques;
Que la implementación de elementos de seguridad tan importantes como cinturones de seguridad en autos, necesitan de reglamentos técnicos que obligue el cumplimiento de requisitos técnicos mínimos de seguridad;
Que las consecuencias del no cumplimiento de los requisitos técnicos aquí estipulados son negativas para el patrimonio personal, empresarial o público, y para la economía en su conjunto, son enormes, por la atención hospitalaria a los heridos e incluso por los gastos en que se incurre cuando hay fallecidos de por medio;
Que tres de cada cinco personas que mueren en accidentes de t ránsito habrían sobrevivido a sus heridas si hubieran estado usando sus cinturones de seguridad;
Que cada año, los cinturones de seguridad salvan aproximadamente 9.500 vidas;
Que el Reglamento Técnico que se adopta mediante esta resolución, se consultó con los gremios representativos del sector, se consultó tanto con productores como con importadores, se publicó en la página WEB del Ministerio de Comercio, Industria y Turismo y su proyecto fue notificado el 21 de abril de 2004 en cumplimiento de lo establecido en el artículo 4 del Decreto 1112 de 1996 y del articulo 11 de la Decisión 0562 de 2003;
Que con base en los anteriores considerandos, este Ministerio,
RESUELVE:
ARTÍCULO 1o. EXPEDICIÓN. <Resolución, no el anexo, derogada por el artículo 21 de la Resolución 1949 de 2009> Expedir el siguiente reglamento técnico respecto al uso y desempeño del Cinturón de Seguridad para uso automotor.
ARTÍCULO 2o. OBJETO. <Resolución, no el anexo, derogada por el artículo 21 de la Resolución 1949 de 2009> Prevenir daños internos esparciendo la fuerza de un choque a lo largo de dos de las áreas más fuertes del cuerpo humano - la pelvis y el torso o minimizar riesgos para la vida e integridad humana, reduciendo los riesgos de accidente por fallas del Cinturón de Seguridad resultantes de su manufactura o uso inadecuado y prevenir prácticas que puedan inducir a error a los consumidores en su comercialización.
ARTÍCULO 3o. CAMPO DE APLICACIÓN. <Resolución, no el anexo, derogada por el artículo 21 de la Resolución 1949 de 2009> Este reglamento es aplicable a todos los tipos de Cinturones de Seguridad, que se importen, fabriquen, ensamblados a partir de CKD, o comercialicen (bien sean destinados a equipo original o de reposición) en vehículos automotores y sus remolques, que circulen en Colombia.
PARÁGRAFO. Los Cinturones de Seguridad que vienen incorporados en los vehículos también son objeto de este reglamento técnico.
ARTÍCULO 4o. <Resolución, no el anexo, derogada por el artículo 21 de la Resolución 1949 de 2009> Definiciones y siglas:
4.1 Definiciones. Para los efectos del presente reglamento técnico, además de las definiciones de los términos indicadas a continuación, son aplicables las contempladas en las normas legales correspondientes y en la Norma Técnica Colombiana NTC 1570 Tercera Actualización:
Cinturón de Seguridad: Es el sistema diseñado y fabricado para uso en vehículos automotores que permite acomodar y fijar a la persona al asiento para protegerla de heridas en un accidente de tránsito.
Etiqueta: Marcaje, rótulo o marbete impreso, tejido o estampado con información específica sobre un producto
Etiquetado: Sistema de marcado que asegura la claridad de la información contenida en la etiqueta
4.2 Siglas: Las siglas y símbolos que aparecen en el texto del presente reglamento técnico tienen el siguiente significado y así deben ser interpretadas:
RT Reglamento Técnico.
NTC Norma Técnica Colombiana.
JIS Japanese Industrial Standards.
FMVSS Federal Motor Vehicle Safety Standards.
R. Requisito particular exigido en el RT.
ONU Organización de las Naciones Unidas.
OMC Organización Mundial del Comercio.
SIC Superintendencia de Industria y Comercio
ARTÍCULO 5o. <Resolución, no el anexo, derogada por el artículo 21 de la Resolución 1949 de 2009> Requisitos:
5.1 Requisitos generales: Todos los cinturones de seguridad deben minimizar los riesgos para la vida e integridad humana, limitando el movimiento de los pasajeros de un vehículo y ofreciendo una resistencia suficiente a los esfuerzos que se puedan presentar en condiciones normales de uso y en accidentes de tránsito.
5.2 Requisitos específicos: En desarrollo de los requisitos generales prescritos en el numeral 5.1 del presente reglamento, los cinturones de seguridad deben cumplir como mínimo con los siguientes requisitos:
R1 Resistencia a la tensión reata: La reata debe soportar los esfuerzos de tensión o carga sin presentar falla o rotura, cuando se producen eventos tales como frenadas y accidentes, garantizando que la persona permanezca sujeta al asiento.
R2 Resistencia del limitador de carga: El cinturón de seguridad debe modular los esfuerzos que son ejercidos a los usuarios del cinturón, en caso de un impacto a desaceleración repentina.
R3 Resistencia al desgaste: Con el tiempo de uso, la reata debe soportar un mínimo de esfuerzo de tensión o carga sin presentar falla o rotura durante frenadas y accidentes, garantizando que la persona permanezca sujeta al asiento.
R4 Resistencia al frío: Cuando la reata es sometida a bajas temperaturas, esta debe soportar un mínimo de esfuerzo de tensión o carga, sin presentar falla o rotura.
R5 Resistencia al calor: Cuando la reata es sometida a altas temperaturas, esta debe soportar un mínimo de esfuerzo de tensión o carga, sin presentar falla o rotura.
R6 Resistencia al agua: Cuando la reata es sometida al agua, esta debe soportar un mínimo de esfuerzo de tensión o carga, sin presentar falla o rotura.
R7 Resistencia al medio ambiente (luz): La reata debe soportar adecuadamente la luz solar, soportando un mínimo de esfuerzo de tensión o carga, sin presentar falla o rotura.
R8 Resistencia a la corrosión: Con el tiempo de uso las partes metálicas de la hebilla, el máximo de corrosión permisible, debe ser tal que garantice un correcto funcionamiento de la hebilla dentro del Cinturón de Seguridad.
R9 Fuerza de separación: La hebilla debe mantener su funcionalidad cuando el conjunto cinturón es sometido a esfuerzos de tensión similares a los producidos en frenadas y accidentes.
R10 Resistencia a la corrosión: Con el tiempo de uso de los soportes y tornillos de fijación del cinturón, el máximo de corrosión permisible debe ser tal que garantice un correcto funcionamiento dentro del cinturón de seguridad.
R11 Resistencia a la corrosión (Retractor): Con el tiempo de uso del Retractor del cinturón, el máximo de corrosión permisible debe ser tal que garantice su correcto funcionamiento dentro del cinturón de seguridad. La reata debe poderse retraer y extraer sin atascamientos.
R12 Extracción y Retracción: Con el uso repetitivo y cotidiano del cinturón la reata no debe presentar atascamientos que afecten la funcionalidad del cinturón.
R13 Resistencia al polvo: Con el tiempo de uso del retractor del cinturón en condiciones de polución se debe garantizar un correcto funcionamiento de la reata, la cual no debe presentar atascamientos.
R14 Durabilidad a la extracción y retracción: Garantiza que el retractor cumple con esta especificación durante su vida útil.
R15 Resistencia a la tensión: El retractor debe soportar sin fallas los esfuerzos de tensión que se producen en condición normal de uso y accidentes, garantizando la fijación de la persona al asiento.
R16 Resistencia a la tensión estática: Todos los componentes del cinturón al interactuar como un conjunto, deben soportar sin fallas los esfuerzos de tensión que se producen en condición normal de uso y accidentes, garantizando la fijación de la persona al asiento.
ARTÍCULO 6o. ETIQUETADO. <Resolución, no el anexo, derogada por el artículo 21 de la Resolución 1949 de 2009> El Cinturón de seguridad deberá ir marcado, de manera legible e indeleble al menos con la siguiente información.
a) Número de Registro de Fabricante o importador ante la Superintendencia de Industria Comercio;
b) Para los cinturones de seguridad y atendiendo lo expuesto por el artículo 9 del Decreto 2269 de 1993, deberán indicar el reglamento técnico que deben cumplir en el país de origen;
c) Identificación del lote de producción y/o fecha de fabricación;
d) Identificación del tipo de producto según sus posibilidades de uso y/o su símbolo según sus posibilidades de uso;
e) La etiqueta deberá ir en idioma castellano
ARTÍCULO 7o. SUBPARTIDA ARANCELARIA. <Resolución, no el anexo, derogada por el artículo 21 de la Resolución 1949 de 2009> Los productos objeto del presente reglamento técnico se clasifican, en la siguiente subpartida arancelaria:
PRODUCTOS NUMERAL
ARANCELARIO
CINTURONES DE SEGURIDAD Y SISTEMAS
DE SUJECION PARA ADULTOS EN AUTOMOVILES 87.08.21.00.00
ARTÍCULO 8o. PROCEDIMIENTO PARA EVALUAR LA CONFORMIDAD. <Resolución, no el anexo, derogada por el artículo 21 de la Resolución 1949 de 2009> Los productores, comercializadores e importadores de los cinturones de seguridad sometidos al presente reglamento técnico deberán seguir los procedimientos, condiciones e interpretación de resultados de los ensayos de evaluación de la conformidad de la NTC 1570 Tercera Actualización anexa a la presente resolución, indicados en la Tabla siguiente:
Tabla
Requisitos Específicos de los Cinturones de Seguridad y Numerales de los ensayos según la Norma Técnica Colombiana 1570- 3ª Actualización.
Requisitos Específicos PARTE Numeral
de los Ensayos
R1 Resistencia a la tensión Cinta 7.4.2
R2 Resistencia del limitador de altura 7.5.2
R3 Resistencia al desgaste- Abrasión 7.4.1.6
R4 Resistencia al frío 7.4.1.3
R5 Resistencia calor 7.4.1.4
R6 Resistencia al agua 7.4.1.5
R7 Resistencia al medio ambiente - luz 7.4.1.2
R8 Resistencia a la corrosión Hebilla 7.2
R9 Fuerza de separación 7.8.2
R10 Resistencia a la corrosión Partes Rígidas 7.2
R11 Resistencia a la corrosión Retractor 7.2
R12 Extracción y retracción repetitiva 7.6.1
R13 Resistencia al polvo 7.6.3
R14 Durabilidad a la extracción y retracción 7.6.1
R15 Resistencia a la tensión - Fuerza de tracción 7.6.4
R16 Resistencia a la tensión estática Conjunto
Cinturón 7.5 y 7.7
Se aceptarán como normas equivalentes a la NTC 1570- 3ª Actualización la norma Japonesa JIS D4604, el reglamento Europeo ECE 16-04, el reglamento de las naciones Unidas ONU R16 y la norma Estadounidense FMVSS 209.
ARTÍCULO 9o. CERTIFICACIÓN PARA DEMOSTRAR LA CONFORMIDAD. <Resolución, no el anexo, derogada por el artículo 21 de la Resolución 1949 de 2009> Previamente a su comercialización, los fabricantes, importadores de los cinturones de seguridad sometidos a este reglamento técnico y en consideración a los riesgos que se pretenden prevenir y mitigar, deberán demostrar su cumplimiento solamente a través de uno de los siguientes Certificados de Conformidad:
a) Certificado de lote, válido únicamente para el lote muestreado;
b) Certificado de Tipo, mientras no se varíen los diseños y condiciones del Cinturón de Seguridad certificado, cualquiera sea su cantidad y frecuencia;
c) Marca o sello de conformidad, que permitirá ingresar al país los Cinturones de Seguridad mientras el sello o marca esté vigente de acuerdo con las condiciones de su expedición, cualquiera que sea su cantidad y frecuencia.
PARÁGRAFO 1o. P ara los efectos de certificación aquí considerados, son válidos los certificados expedidos por:
a) Un Organismo de Certificación Acreditado por la Superintendencia de Industria y Comercio-SIC.
El Organismo de Certificación Acreditado, deberá soportar dicho certificado en resultados de ensayos realizados en laboratorios acreditados ante la Superintendencia de Industria y Comercio.
Si para un requisito en particular exigido en este reglamento técnico no existe en Colombia por lo menos dos (2) Laboratorios Acreditados por la Superintendencia de Industria y Comercio-SIC, el Organismo de Certificación que certifica la conformidad podrá soportarse en Ensayos realizados en Laboratorios de la Conferencia Internacional sobre Acreditación de Laboratorios de Ensayo, ILAC, y/o los Autorizados por el Ministerio de Comercio, Industria y Turismo;
b) Un Organismo de certificación acreditado por la entidad acreditadora del país de origen de estos productos, siempre y cuando dicho país mantenga vigente con Colombia acuerdo de reconocimiento mutuo, para los efectos de certificación aquí considerados;
c) Un organismo de certificación acreditado por la entidad acreditadora del país de origen de estos productos, siempre y cuando este Organismo acepte recíprocamente, mediante acuerdo de reconocimiento mutuo, los certificados de conformidad expedidos por un organismo certificador acreditado por la Superintendencia de Industria y Comercio, SIC, para los efectos de certificación aquí considerados;
d) Un organismo de certificación acreditado por la entidad acreditadora del país de origen de estos productos, siempre y cuando el Certificado de Conformidad que expidió el organismo extranjero, sea avalado por el organismo certificador acreditado por la Superintendencia de Industria y Comercio-SIC, para los efectos de certificación aquí considerados.
El organismo de certificación extranjero de que tratan los literales b), c) y d) de este artículo, deberá poder demostrar que el certificado que expidió se soportó en resultados de ensayos realizados en laboratorios acreditados ante el organismo de acreditación del país de origen de los productos importados. No será exigible este requisito si el organismo de certificación extranjero se soportó en laboratorios acreditados o autorizados en Colombia, conforme lo señalado en este artículo.
PARÁGRAFO 2o. De acuerdo con lo estipulado en los Decretos 2269 de 1993, 300 de 1995 y 2685 de 1999, los importadores de Cinturones de Seguridad sujetos al presente reglamento técnico deberán demostrar la conformidad estipulada en este artículo en el momento de presentar el registro de importación o de efectuar el levantamiento aduanero de tales mercancías, o cuando la Superintendencia de Industria y Comercio, como ente de vigilancia y control, u otra autoridad nacional competente así lo requieran.
La Superintendencia de Industria y Comercio, SIC, será la entidad encargada de suministrar la información sobre los organismos de certificación acreditados o reconocidos, así como de los laboratorios de ensayos y calibración, relacionados con el presente reglamento técnico.
La Dirección Electrónica de la Superintendencia de Industria y Comercio, SIC es (www.sic.gov.co)
PARÁGRAFO 3o. Prohíbese la importación al territorio nacional de Cinturones de Seguridad usados, cualquiera sea su país de origen.
No se podr á prohibir, limitar, ni obstaculizar la comercialización, ni la puesta en funcionamiento de los Cinturones de Seguridad para vehículos automotores que cumplan con las disposiciones del presente reglamento técnico.
ARTÍCULO 10. ENTIDAD DE VIGILANCIA Y CONTROL. <Resolución, no el anexo, derogada por el artículo 21 de la Resolución 1949 de 2009> Le compete a la Superintendencia de Industria y Comercio, las labores de vigilancia y control de los requisitos del presente reglamento técnico, de acuerdo con los Decretos 3466 de 1982, 2153 de 1992, 2269 de 1993 y 300 de 1995.
La entidad de vigilancia y control tendrá plenas facultades para intervenir en cualquier etapa de los procesos de producción, de importación y/o de comercialización.
ARTÍCULO 11. REVISIÓN Y ACTUALIZACIÓN. <Resolución, no el anexo, derogada por el artículo 21 de la Resolución 1949 de 2009> Con el fin de mantener actualizadas las disposiciones de este reglamento técnico, el Ministerio de Comercio, Industria y Turismo a través de la Dirección de Regulación lo revisará en un término no mayor a 5 años, contados a partir de la fecha de su entrada en vigencia, si se detecta que las causas que motivaron su expedición fueron modificadas o desaparecieron.
ARTÍCULO 12. RÉGIMEN SANCIONATORIO. <Resolución, no el anexo, derogada por el artículo 21 de la Resolución 1949 de 2009> Al no encontrarse verificación de la conformidad, no se permitirá la importación; en el caso de bienes producidos en el país, no se permitirá su comercialización.
No obstante lo anterior, el incumplimiento de lo establecido en este reglamento técnico, dará lugar a las sanciones previstas en los Decretos 3466 de 1982, 2153 de 1992, 2269 de 1993 y en las demás disposiciones legales aplicables.
PARÁGRAFO. Responsabilidad. La responsabilidad civil, penal y/o fiscal originada en la inobservancia de las disposiciones contenidas en el presente reglamento técnico, será la que determinen las disposiciones legales vigentes y recaerá en forma individual en los fabricantes nacionales o en los importadores y en el organismo de certificación que dio la conformidad a los productos objeto de este reglamento técnico, sin que se cumplieran los requisitos aquí previstos.
ARTÍCULO 13. PREVENCIÓN POR DISPOSICIONES SIMILARES DE OTRAS ENTIDADES GUBERNAMENTALES. <Resolución, no el anexo, derogada por el artículo 21 de la Resolución 1949 de 2009> Los fabricantes, comercializadores e importadores de los productos incluidos en el artículo 3o de este reglamento técnico, para fabricar, comercializar o importar estos productos en el territorio colombiano, deben acatar lo dispuesto en este reglamento, pero además deben verificar las disposiciones que para tales productos hayan establecido otras entidades gubernamentales.
ARTÍCULO 14. REGISTRO DE FABRICANTES, COMERCIALIZADORES E IMPORTADORES. <Resolución, no el anexo, derogada por el artículo 21 de la Resolución 1949 de 2009> Los fabricantes e importadores de los productos incluidos en el artículo 3o de este reglamento técnico, previamente a la importación según sea el caso, para poder importarlos y comercializarlos en el territorio colombiano, deberán estar inscritos en el Registro Obligatorio reglamentado por la Superintendencia de Industria y Comercio, SIC.
ARTÍCULO 15. VIGENCIA. <Resolución, no el anexo, derogada por el artículo 21 de la Resolución 1949 de 2009> <Ver Notas de Vigencia> De conformidad con el numeral 5 del artículo 9o de la Decisión 562, del 26 de junio de 2003, Quirama Antioquia Colombia, el presente reglamento técnico empezará a regir dentro de los seis meses siguientes contados a partir de la fecha de publicación de esta resolución en el Diario Oficial, con el fin de cumplir con el objetivo legítimo perseguido. para que los productores, importadores y comercializadores de los productos objeto de este reglamento técnico, y los demás sectores afectados, puedan adaptar sus procesos y/o productos a las condiciones establecidas por el reglamento.
ARTÍCULO 16. DEROGATORIAS. <Resolución, no el anexo, derogada por el artículo 21 de la Resolución 1949 de 2009> A partir de la fecha de entrada en vigor o en vigencia del presente reglamento técnico, este reglamento deroga las disposiciones que le sean contrarias.
Comuníquese y cúmplase.
Dada en Bogotá, D. C., a 24 de junio de 2005.
El Ministro de Comercio, Industria y Turismo,
JORGE H. BOTERO.
<Resolución derogada por el artículo 21 de la Resolución 1949 de 2009, sin embargo establece el artículo 17 de la misma: "Hace parte integrante de la presente resolución el texto de la NTC 1570, Tercera actualización del 23 de abril de 2003, publicada con la Resolución 1274 del 24 de junio de 2005 en el Diario Oficial 45963 del 8 de julio de 2005.">
NORMA TECNICA NTC
COLOMBIANA 1570
2003-04-23
DISPOSICIONES UNIFORMES RESPECTO A CINTURONES DE SEGURIDAD Y SISTEMAS DE RETENCION PARA OCUPANTES DE VEHICULOS
AUTOMOTORES
E: UNIFORM PROVISIONS CONCERNING ABOUT SAFETY-BELTS AND RESTRAINT SYSTEMS FOR ADULT OCCUPANTS OF POWER-DRIVEN VEHICLES
CORRESPONDENCIA: Esta norma es una adopción idéntica (IDT) por traducción de la norma. Uniform Provisions Concerning the Approval of Safety-Belts and Restraint Systems for Adult Occupants of Power-Driven Vehicles con Addendas hasta el 30 de abril de 1998.
DESCRIPTORES: Cinturón de seguridad; dispositivo de seguridad; arnés de seguridad; seguridad.
I.C.S.: 43.040.80
Editada por el Instituto Colombiano de Normas Técnicas y Certificación (Icontec)
Apartado 14237 Bogotá, D. C. - Tel. 6078888 - Fax 2221435
Prohibida su reproducción. Tercera actualización
Editada 2004-04-25
PROLOGO
El Instituto Colombiano de Normas Técnicas y Certificación, Icontec, es el organismo nacional de normalización, según el Decreto 2269 de 1993.
El Icontec es una entidad de carácter privado, sin ánimo de lucro, cuya Misión es fundamental para brindar soporte y desarrollo al productor y protección al consumidor Colabora con el sector gubernamental y apoya al sector privado del país, para lograr ventajas competitivas en los mercados interno y externo.
La representación de todos los sectores involucrados en el proceso de Normalización Técnico está garantizada por los Comités Técnicos y el período de Consulta Pública, este último caracterizado por la participación del público en general.
La NTC 1570 (Tercera actualización) fue ratificada por el Consejo Directivo del 2003-04-23.
Esta norma está sujeta a ser actualizada permanentemente con el objeto de que responda en todo momento a las necesidades y exigencias actuales.
A continuación se relacionan las empresas que colaboraron en el estudio de esta norma a través de su participación en el Comité Técnico 152 Vehículos automotores, accesorios.
COMPAÑIA COLOMBIANA AUTOMOTRIZ S.A.
IMAL S.A.
Además de las anteriores, en Consulta Pública el Proyecto se puso a consideración de las siguientes empresas:
Asociación Colombiana de Fabricantes de Autopartes
Asociación Nacional de Industriales, Asopartes
Bonem S. A.
Fábrica Nacional de Autopartes
Fenalco
Ford Colombia
Fábrica Colombiana de Repuestos Automotores S.A., Fraco
General Motors Colmotores S. A.
Hyundai
Industria Automotriz, Inauto Ltda.
Kia Motors
Ministerio de Desarrollo
Ministerio De Transporte
Resortes Hércules
Sociedad de Fabricantes de Automotores S. A.
Superintendencia de Industria y Comercio
Universidad de los Andes
Facultad de Ingeniería Citec
Universidad Nacional.
El Icontec cuenta con un centro de información que pone a disposición de los interesados normas internacionales, regionales y nacionales.
Dirección de Normalización.
DISPOSICIONES UNIFORMES RESPECTO A CINTURONES
DE SEGURIDAD Y SISTEMAS DE RETENCION PARA
OCUPANTES DE VEHICULOS AUTOMOTORES
1. AMBITO
Esta norma rige para los cinturones de seguridad y sistemas de retención, diseñados para instalar en vehículos de las Categorías M y N y para uso individual, Ej.: como accesorios individuales para personas de constitución adulta, quienes ocupen asientos orientados hacia adelante o hacia atrás.
2. DEFINICIONES
2.1 Cinturón de seguridad (cinturón de silla, cinturón)
Un conjunto de cintas, con una hebilla de seguridad, dispositivos de ajuste y accesorios, el cual se puede anclar en el interior de un vehículo automotor y está diseñado para disminuir el riesgo de lesiones de la persona que lo usa, en caso de choque o desaceleración abrupta del vehículo, al limitar la movilidad del cuerpo que lo lleva puesto. Este arreglo se conoce generalmente como "el conjunto del cinturón" y este término también incluye cualquier dispositivo para absorber energía o para retraer el cinturón.
2.1.1 Cinturón de regazo
Un cinturón que pasa a través de la región pélvica de quien lo usa.
2.1.2 Cinturón diagonal
Un cinturón que pasa diagonalmente a través de la parte delantera del pecho, desde la cadera hasta el hombro opuesto.
2.1.3 Cinturón de tres puntos
Cualquier cinturón, el cual es esencialmente una combinación de una cinta de regazo y una cinta diagonal.
2.1.4 Cinturón de arnés
Un conjunto de cinturón que incluye una cinta de regazo y cintas en los hombros.
2.2 Clase de cinturón
Las distintas "clases" de cinturones son cinturones que difieren substancialmente entre ellos; las diferencias se pueden relacionar en particular con lo siguiente:
2.2.1 Piezas rígidas (hebilla, accesorios, retractor, etc.).
2.2.2 El material, el tejido, las dimensiones y el color de las cintas; o
2.2.3 La geometría del conjunto del cinturón.
2.3 Cinta
Un componente flexible, diseñado para sostener el cuerpo y para transmitir las tensiones a los anclajes del cinturón.
2.4 Hebilla
Un dispositivo de rápida liberación que sostiene a quien usa el cinturón. La hebilla puede incluir el dispositivo de ajuste, excepto cuando se trata de la hebilla de un cinturón de arnés.
2.5 Dispositivo de ajuste del cinturón
Un dispositivo que permite ajustar el cinturón, de acuerdo con los requisitos de la persona que lo usa y la posición del asiento. El dispositivo de ajuste puede formar parte de la hebilla, o puede ser un retractor, o c ualquier otra parte del cinturón de seguridad.
2.6 Dispositivo para carga previa
Un dispositivo adicional o integrado, el cual aprieta las cintas del cinturón para tensarlo durante la secuencia de choque.
2.7 Zona de referencia
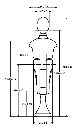
Significa el espacio entre los planos verticales longitudinales, distanciados 400 m y simétricos con respecto del punto H y definido girando de la vertical a la horizontal de la forma de cabeza del aparato, descrito en la Norma número 21, Anexo 1. El aparato deberá estar colocado como se describe en el Anexo de la Norma número 21 y se debe fijar a la longitud máxima de 840 m.
2.8 Conjunto de bolsas de aire
Significa un dispositivo instalado para complementar los cinturones de seguridad y los sistemas de retención en vehículos automotores; Ej.: un sistema, el cual en caso de que un impacto fuerte afecte el vehículo despliega una estructura flexible, la cual pretende limitar, por compresión del gas contenido en la misma, la gravedad de los contactos de una o varias partes del cuerpo de un ocupante del vehículo con el interior del compartimiento de pasajeros.
2.9 Bolsa de aire del pasajero
Significa un conjunto de bolsas de aire para protección del o los ocupantes de las sillas, distintos del conductor, en caso de un choque frontal.
2.10 Retención para los niños
Significa un dispositivo de seguridad, como se define en la Norma número 44.
2.11 Orientado hacia atrás
significa que está orientado en dirección opuesta a la dirección normal de movimiento del vehículo."
2.12 Accesorios
Piezas del conjunto del cinturón, incluyendo los componentes necesarios para asegurarlo, los cuales permiten que esté sostenido por los anclajes del cinturón.
2.13 Amortiguador
Dispositivo diseñado para dispersar energía, independiente o conjuntamente con la cinta, el cual forma parte del conjunto del cinturón.
2.14 Retractor
dispositivo para acomodar todo o parte de la cinta de un cinturón de seguridad.
2.14.1 Retractor sin seguro (Clase 1)
Un retractor del cual se extrae la cinta en toda su longitud, aplicando poca fuerza externa, el cual no ajusta la longitud de la cinta extraída.
2.14.2 Retractor de ajuste manual (Clase 2)
Un retractor que requiere que el usuario lo haga funcionar manualmente para desasegurar el retractor y poder extraer la cinta deseada, el cual se asegura automáticamente cuando cesa la función.
2.14.3 Retractor con seguro automático (Clase 3)
Un retractor que permite extraer la longitud des eada de la cinta, el cual una vez asegurada la hebilla ajusta automáticamente la cinta a quien lo usa, se evita la extracción adicional de la cinta sin intervención voluntaria del usuario.
2.14.4 Retractor con seguro de emergencia (Clase 4)
Un retractor, el cual en condiciones normales de conducción no restringe la libertad de movimiento del usuario del cinturón de seguridad. Este dispositivo tiene componentes para ajustar la longitud, los cuales ajustan automáticamente la cinta al usuario y el mecanismo de seguro actúa en caso de emergencia por:
2.14.4.1 Desaceleración del vehículo (sensibilidad simple) o al extraer la cinta del retractor o por otros medios automáticos (sensibilidad simple); o
2.14.4.2 Una combinación de desaceleración del vehículo, movimiento del entramado o cualquier otro medio automático (sensibilidad múltiple).
2.14.5 Retractor con seguro de emergencia y umbral de alta respuesta (Clase 4N)
Un retractor de la clase definida en el numeral 2.14.4 pero con propiedades especiales, en lo que respecta a su uso en vehículos de las Categorías M2, M3, N1, N2 y N3*
2.14.6 Dispositivo para ajustar la altura del cinturón
un dispositivo que permite ajustar la altura del rizo en el pilar superior del cinturón de acuerdo con los requisitos de la persona que lo utiliza y con la posición de la silla. Se puede considerar que esta clase de especificación es parte del cinturón o del anclaje del cinturón.
2.15 Anclaje del cinturón
Piezas de la estructura del vehículo o de la silla, o de cualquier otra parte del vehículo, a las cuales está asegurado el conjunto del cinturón de seguridad.
2.16 Clase de vehículo, en lo que respecta a los cinturones de seguridad y los sistemas de retención
Categoría de vehículos automotores, los cuales no difieren en aspectos tan esenciales como las dimensiones, las líneas y los materiales de los componentes de la estructura del vehículo o de la silla, o cualquier otra parte del vehículo a la cual están aseguradas los cinturones de seguridad y los sistemas de retención.
2.17 Sistemas de retención
Un sistema que combina una silla fija a la estructura del vehículo por medios adecuados y un cinturón de seguridad para el cual no menos de un anclaje está situado en la estructura de la silla.
2.18 Silla
Una estructura que puede o no estar integrada a la estructura del vehículo, completa con el tapizado, diseñada para que se siente un adulto. El término cubre tanto la silla individual como la parte de una banca donde se sienta una persona.
2.19 Grupo de sillas
Sillas bien sea de la clase de banca o individuales, separadas pero adyacentes (Ej.: fijas de tal manera que el anclaje de una de estas sillas está alineado con el frente de los anclajes posteriores de las otras o entre los anclajes de la otra silla) y donde se sienta una o más personas adultas.
2.20 Banca
Una estructura completa con tapizado, donde se puede sentar más de una persona adulta.
2.21 Sistema de ajuste de la silla
El dispositivo completo para ajustar la silla o sus partes en una posición adecuada para la morfología de la persona sentada; este dispositivo puede, en particular, permitir:
2.21.1 El desplazamiento longitudinal.
2.21.2 El desplazamiento vertical.
2.21.3 El desplazamiento angular.
2.22 Anclaje de la silla
El sistema mediante el cual el conjunto de la silla está asegurado a la estructura del vehículo, incluyendo las partes afectadas en la estructura del vehículo.
2.23 Clase de silla
Una categoría de sillas, las cuales no difieren en aspectos tan esenciales como:
2.23.1 La forma, dimensiones y materiales de la estructura de la silla.
2.23.2 La clase y dimensiones del ajuste para asegurar la silla y los sistemas de seguro.
2.23.3 La clase y dimensiones del anclaje del cinturón en la silla, del anclaje de la silla y de las partes afectadas de la estructura del vehículo.
2.24 Sistema de desplazamiento de la silla
Un dispositivo que permite desplazar la silla o una de sus partes, angular o longitudinalmente, sin una posición intermedia fija (para facilitar el acceso de los pasajeros).
2.25 Sistema de seguro de la silla
Un dispositivo para asegurar que la silla y sus partes permanezcan en la posición de uso.
2.26 Botón oculto para liberar la hebilla
Un botón para liberar la hebilla, de tal manera que no sea posible soltar la hebilla con una esfera que tenga un diámetro de 40 mm.
2.27 Botón no oculto para liberar la hebilla
un botón para liberar la hebilla, de tal manera que debe ser posible soltar la hebilla con una esfera que tenga un diámetro de 40 mm.
3. SOLICITUD DE APROBACION
3.1 El titular de la marca de fábrica, o su representante debidamente acreditado, debe presentar la solicitud de aprobación de una clase de cinturón de seguridad. Cuando se trate de sistemas de retención, el titular de la marca de fábrica o su representante, o el fabricante del vehículo en el cual se instalará, o su representante deberá presentar la solicitud de aprobación del sistema de retención.
3.2 Deberá estar acompañada de:
3.2.1 Una descripción técnica de la clase de cinturón, especificando las cintas y las partes rígidas, acompañada de planos de las partes que forman el cinturón; los planos deben indicar las posiciones para las cuales se solicita aprobac ión, la cantidad y el o los símbolos adicionales con respecto del círculo de la marca de aprobación. La descripción deberá mencionar el color del modelo presentado para aprobación y deberá especificar la o las clases de vehículos para los cuales está diseñado el cinturón. Cuando se trate de retractores, se incluirán instrucciones de instalación para el dispositivo sensor; y para los dispositivos o sistemas de carga previa, una descripción tecnológica completa de la construcción y del funcionamiento, incluyendo los sensores, si los hubiera, con una descripción del método para activar y todos los métodos necesarios para evitar que se active involuntariamente. Cuando se trate de sistemas de retención, la descripción deberá incluir: planos de la estructura del vehículo y de la silla, el sistema de ajuste y los accesorios, a escala adecuada, mostrando los sitios de anclaje de la silla y del cinturón y los refuerzos en forma suficientemente detallada; así como la especificación de los materiales utilizados, los cuales podrían afectar la resistencia de los anclajes de la silla y del cinturón; y una descripción técnica de los anclajes de la silla y de los cinturones. Si el cinturón está diseñado para permanecer fijo a la estructura del vehículo y tiene un dispositivo para ajustar la altura, la descripción técnica debe especificar si este dispositivo se considera parte del cinturón o no;
3.2.2 Seis muestras de la clase de cinturón, una de las cuales es para referencia.
3.2.3 Una longitud de diez metros de cada clase de cinta que se use para la clase de cinturón;
3.2.4 El servicio técnico que haga las pruebas para aprobación de clase, deberá poder solicitar muestras adicionales.
3.3 Cuando se trate de sistemas de retención, se deberán entregar dos muestras, las cuales pueden incluir dos de las muestras de cinturones requeridos en los numerales 3.2.2 y 3.2.3, a opción del fabricante, bien sea de un vehículo representativo de la clase de vehículo que se apruebe, o de la pieza o piezas del vehículo, consideradas esenciales por el servicio técnico que hace las pruebas para aprobación del sistema de retención.
4. MARCAS
Las muestras de una clase de cinturón o de una clase de sistema de retención, presentadas para aprobación de acuerdo con las especificaciones de los numerales 3.2.2, 3.2.3 y 3.2.4, anteriores, deberán estar marcadas en forma clara e indeleble, con el nombre del fabricante, sus iniciales o el nombre de fábrica o la marca.
5. APROBACION
5.1 Si las muestras de una clase de cinturón, presentadas de acuerdo con las especificaciones del numeral 3, anterior, cumplen los requisitos de los numerales 4, 5 y 6 de esta norma, se otorgará la aprobación.
5.2 Se asignará un número de aprobación a cada clase aprobada. Sus primeros dos dígitos (actualmente 04, correspondientes a la serie de 04 modificaciones vigentes a partir del 22 de diciembre de 1985), deberán indicar la serie de modificaciones que incorpore la mayor cantidad de recientes modificaciones técnicas de esta norma, al momento de otorgar la aprobación. La misma Parte Contratante no podrá asignar el mismo número a otra clase de cinturón o de sistema de retención.
5.3 El aviso de aprobación o de ampliación, o de rechazo de la par de una clase de cinturón o de sistema de retención, de acuerdo con esta norma, se deberá comunicar a las Partes del Acuerdo de 1958, las cuales rigen para esta Disposición, en un formato similar al modelo contenido en el Anexo 1 de esta Disposición.
5.4 Además de las marcas prescritas en el numeral 4 anterior, los siguientes particulares deberán estar colocados en una parte adecuada de cada cinturón que esté conforme con una clase aprobada de acuerdo con esta Disposición:
5.4.1 Una marca de aprobación internacional, la cual incluirá:
5.4.1.1 Un círculo alrededor de la letra "e" seguido del número distintivo del país que otorgó la aprobación1/.
5.4.1.2 Un número de aprobación.
5.4.2 Los siguiente símbolos adicionales:
5.4.2.1 La letra "A" para un cinturón de 3 puntos; la letra "B" para un cinturón de regazo; y la letra "C" para cinturones de clases especiales.
5.4.2.2 Los símbolos mencionados en el numeral 5.4.2.1, anterior, estarán complementados con las siguientes marcas:
5.4.2.2.1 La letra "e" para un cinturón que tenga un dispositivo de absorción de energía.
5.4.2.2.2 La letra "r" para un cinturón con reactor, seguido del símbolo (1, 2, 3, 4 o 4N) del reactor utilizado, de acuerdo con el numeral 2.9 de esta Disposición y la letra "m" si el retractor que se use tiene seguro de emergencia con sensibilidad múltiple.
5.4.2.2.3 La letra "p", cuando se trate de retractores con un dispositivo de carga previa.
5.4.2.2.4 Los cinturones equipados con un retractor Clase 4N también deberán llevar un símbolo, el cual será un rectángulo con una categoría de vehículo M1 a través, indicando que el uso de esta clase de retractor está prohibido en vehículos de esa categoría.
5.4.2.3 El símbolo mencionado en el numeral 5.4.2.1 anterior, deberá estar precedido de la letra "Z" cuando el cinturón de seguridad sea parte de un sistema de retención.
5.5 El Anexo 2 de esta Disposición contiene ejemplos de la forma como se debe colocar la marca de aprobación.
5.6 Los particulares mencionados en el numeral 5.4 anterior, deberán ser claramente legibles e indelebles o podrán están fijos en forma permanente mediante una etiqueta o con una marca directa. La etiqueta o la marca deberán ser resistentes al desgaste por uso.
5.7 La autoridad que ha otorgado la aprobación o el fabricante, sometiéndose a la autorización de dicha autoridad, podrá emitir las etiquetas mencionadas en el numeral 5.6 anterior.
6. ESPECIFICACIONES
6.1 Especificaciones generales
6.1.1 Cada muestra presentada de acuerdo con los numerales 3.2.2, 3.2.3 y 3.2.4 anteriores, deberá cumplir las especificaciones previstas en el numeral 6 de esta norma.
6.1.2 El cinturón o el sistema de retención deberá estar diseñado de tal manera que, cuando esté correctamente instalado y lo use el ocupante, sea seguro que al funcionar reduce el riesgo de lesión corporal en caso de accidente.
6.1.3 Las cintas del cinturón no deberán encontrarse nunca en una configuración peligrosa.
6.1.4 Está prohibido el uso de materiales con propiedades de poliamida 6, en lo que respecta a la retención de agua, en todas las piezas mecánicas en las cuales tal fenómeno podría tener efectos adversos para su funcionamiento.
6.2 Piezas rígidas
6.2.1 Generalidades
6.2.1.1 Las piezas rígidas del cinturón de seguridad, como las hebillas, los dispositivos de ajuste, los accesorios y si milares, no deberán tener bordes afilados, los cuales pudieran desgastar o romper las cintas.
6.2.1.2 Todas las piezas del conjunto del cinturón que pudieran corroerse, deberán estar debidamente protegidas. Después de pasar la prueba de corrosión prescrita en el numeral 7.2, no deberá haber signos visibles de deterioro capaz de impedir el adecuado funcionamiento del dispositivo y tampoco deberá haber corrosión visible a primera vista del observador calificado.
6.2.1.3 Las piezas rígidas, diseñadas para absorber energía o para soportar, o transmitir una carga no deberán ser frágiles.
6.2.1.4 Las partes y piezas rígidas de un cinturón de seguridad, hechas de plástico, deben estar instaladas de tal manera que no puedan quedar atrapadas bajo una silla móvil o una puerta durante el uso diario del vehículo automotor. Si cualquiera de tales partes o piezas no cumple cualquiera de las anteriores condiciones, se someterán a la prueba de impacto en frío, especificada en el numeral 7.5.4, más adelante. Después de la prueba, si se observan rajaduras en cualquier cubierta de plástico o retén de cualquier pieza rígida, se deberá retirar toda la pieza plástica y se evaluará la seguridad del conjunto restante. Si el conjunto restante sigue siendo seguro, o si no se observan rajaduras visibles, se evaluarán los requisitos especificados en los numerales 6.2.2, 6.2.3 y 6.4.
6.2.2 Hebilla
6.2.2.1 La hebilla deberá estar diseñada de tal manera que evite cualquier posibilidad de uso incorrecto. Esto significa, entre otras cosas, que la hebilla no debe poder quedar parcialmente cerrada. El procedimiento para abrir la hebilla debe ser evidente. Las piezas de la hebilla que pudieran estar en contacto con el cuerpo del usuario deberán tener una sección no inferior a 20 cm2 con una anchura no inferior a 46 mm, medidas en un plano situado a una distancia máxima de 2,5 mm de la superficie de contacto. Cuando se trate de hebillas de arneses, se entenderá que se cumple el anterior requisito si el área de contacto de la hebilla con el cuerpo del usuario está comprendido entre 20 cm2 y 40 cm2.
6.2.2.2 La hebilla deberá permanecer cerrada aún cuando no haya tensión en todas las posiciones del vehículo. No deberá ser posible abrir la hebilla inadvertida, accidentalmente o con una fuerza inferior a 1 daN. Deberá ser fácil usar y tomar la hebilla; el usuario deberá poder abrir la hebilla cuando no esté tensa y cuando esté bajo la tensión especificada en el numeral 7.8.2, más adelante, con un simple movimiento de una mano y en una sola dirección; además, cuando los conjuntos de cinturones estén diseñados para uso en las sillas delanteras, con excepción de los arneses, el usuario deberá poder cerrarla con un movimiento simple de una mano en una sola dirección. La hebilla se abrirá bien sea oprimiendo un botón o un dispositivo similar. La superficie a la cual se aplica tal presión deberá tener las siguientes dimensiones, con el botón en posición para abrir y cuando se proyecten a un plano perpendicular a la dirección del movimiento inicial del botón: los botones encerrados, un área no inferior a 4,5 cm2 con una anchura no inferior a 15 mm; los botones que no estén encerrados, un área no inferior a 2,5 cm2 con una anchura no inferior a 10 mm. El área de apertura de la hebilla deberá ser de color rojo. Ninguna otra parte de la hebilla deberá ser de ese color.
6.2.2.3 La hebilla deberá funcionar normalmente al probarla de acuerdo con el numeral 7.5.3, más adelante.
6.2.2.4 La hebilla deberá poder resistir el funcionamiento repetido y, antes de la prueba dinámica especificada en el numeral 7.7, deberá pasar 5 000 ciclos de apertura y cierre en condiciones normales de uso. Cuando se trate de hebillas de arnés, se podrá hacer la prueba sin introducir todas las lengüetas.
6.2.2.5 La fuerza necesaria para abrir la hebilla durante la prueba prescrita en el numeral 7.8, más adelante, no deberá superar 6 daN.
6.2.2.6 Se probará la resistencia de la hebilla, como se prescribe en el numeral 7.5.1 y, cuando sea conveniente, en el numeral 7.5.5. No deberá romperse, distorsionarse mucho o zafarse con la tensión fijada de acuerdo con la carga prescrita.
6.2.2.7 Cuando se trate de hebillas con un componente común a dos conjuntos, se harán las pruebas de resistencia y apertura especificada en los numerales 7.7 y 7.8 a las partes de la hebilla que pertenezcan a un conjunto cerrado en la parte doble que pertenece a la otra hebilla, si es posible ensamblar la hebilla en uso.
6.2.3 Dispositivos para ajustar el cinturón
6.2.3.1 Después de colocar el cinturón al usuario, deberá bien sea ajustarse automáticamente al cuerpo del usuario, o el dispositivo para ajustarlo manualmente deberá ser de fácil acceso y conveniente para el usuario sentado. También deberá permitir que el usuario lo ajuste con una sola mano al tamaño del cuerpo del usuario y la posición de la silla del vehículo.
6.2.3.2 Se probarán dos muestras de cada dispositivo de ajuste del cinturón, de acuerdo con los requisitos del numeral 7.3. La cinta no deberá deslizar más de 25 mm en cada muestra del dispositivo se ajuste y la suma de cambios de todos los dispositivos de ajuste no deberá ser superior a 40 mm.
6.2.3.3 Se probarán la resistencia de todos los dispositivos de ajuste, como se prescribe en el numeral 7.5.1. No deberán romperse ni zafarse a la tensión causada por la carga prescrita.
6.2.3.4 Cuando se pruebe de acuerdo con el numeral 7.5.6, la fuerza necesaria para hacer funcionar cualquier dispositivo de ajuste manual no deberá ser superior a 5 daN.
6.2.4 Accesorios y dispositivos de ajuste de la altura del cinturón
Se probará a resistencia de los accesorios como se prescribe en los numerales 7.5.1 y 7.5.2. Se probará la resistencia de los dispositivos para ajustar la altura del cinturón como se prescribe en el numeral 7.2.5 de esta norma, cuando no se hayan probado al hacer la solicitud del vehículo de acuerdo con la Norma número 14 (en su última versión de modificaciones), relacionada con los anclajes de los cinturones de seguridad, estas piezas no deberán romperse ni zafarse a la tensión fijada con la carga prescrita.
6.2.5 Retractores
Se someterán los retractores a las pruebas y deberán cumplir los requisitos especificados más adelante, incluyendo las pruebas de resistencia prescritas en los numerales 7.5.1 y 7.5.2. (Estos requisito s excluyen los retractores sin seguro).
6.2.5.1 Retractores manuales.
6.2.5.1.1 La cinta de un conjunto de cinturón de seguridad, equipado con retractor de apertura manual no deberá moverse más de 25 mm entre las posiciones del retractor cerrado
6.2.5.1.2 La cinta de un conjunto de cinturones de seguridad se deberá extraer de un retractor de apertura manual hasta 6 mm de su longitud total, cuando se aplica una tensión no inferior a 1.4 daN y no superior a 2.2 daN a la cinta, en la dirección normal para halarla
6.2.5.1.3 La cinta se halará del retractor y se permitirá que se retraiga repetidamente por el método descrito en el numeral 7.6.1, hasta completar 5 000 ciclos. Luego se someterá el retractor a la prueba de corrosión indicada en el numeral 7.2 y a la prueba de polvo indicada en el numeral 7.6.3. Luego deberá completar satisfactoriamente 5 000 ciclos adicionales de halado y retracción. Después de las anteriores pruebas, el retractor deberá funcionar correctamente y deberá cumplir los requisitos de los numerales 6.2.5.1.1 y 6.2.5.1.2, anteriores.
6.2.5.2 Retractores con seguro automático.
6.2.5.2.1 La cinta de un conjunto de cinturones de seguridad, equipada con un retractor con seguro automático no deberá moverse más de 30 mm entre las posiciones del retractor asegurado. Cuando el usuario se mueva hacia atrás, el cinturón deberá permanecer en su posición inicial o regresar automáticamente a esa posición cuando el usuario se vuelva a mover hacia adelante.
6.2.5.2.2 Si el retractor forma parte del cinturón, la fuerza de retracción de la cinta no deberá ser inferior a 0,7 daN, medida en la longitud libre entre el maniquí y el retractor, de acuerdo con el numeral 7.6.4. Si el retractor forma parte de un sistema de retención de la parte superior del torso, la fuerza de retracción de la cinta no deberá ser inferior a 0,2 daN y no deberá ser superior a 0,7 daN cuando se mida en forma similar. Si la cinta pasa a través de una guía o polea, la fuerza de retracción se debe medir en la longitud libre entre el maniquí y la guía o polea. Si el conjunto incluye un dispositivo, el cual evita que la cinta se retraiga total o parcialmente mediante funcionamiento manual o automático, no se deberá hacer funcionar ese dispositivo al evaluar estos requisitos.
6.2.5.2.3 La cinta se halará del retractor y se permitirá que se retraiga repetidamente con el método descrito en el numeral 7.6.1 hasta completar 5 000 ciclos. El retractor se someterá entonces a la prueba de corrosión indicada en el numeral 7.2 y luego a la prueba de polvo indicada en el numeral 7.6.3. Luego deberá completar satisfactoriamente otros 5 000 ciclos de halado y retracción. Después de las anteriores pruebas el retractor deberá operar correctamente y cumplir los requisitos de los numerales 6.2.5.2.1 y 6.2.5.2.2, anteriores.
6.2.5.3 Retractores con seguro de emergencia
6.2.5.3.1 Al probar un retractor con seguro de emergencia, de acuerdo con el numeral 7.6.2, deberá cumplir las condiciones que se enumeran a continuación. Cuando se trate de sensibilidad simple, de acuerdo con el numeral 2.14.4.1, son válidas únicamente las especificaciones relacionadas con la desaceleración del vehículo.
6.2.5.3.1.1 El retractor debe quedar asegurado cuando la desaceleración del vehículo alcanza 0,45 g1/ cuando s e trata de retractores Clase 4; o 0,85 g cuando se trate de retractores clase 4N.
6.2.5.3.1.2 No deberá quedar asegurado a valores de aceleración de la cinta, medidos en la dirección de extracción de la cinta, menos de 0,8 g cuando se trate de retractores de la Clase 4 o menos de 1,0 g cuando se trate de la Clase 4N.
6.2.5.3.1.3 No deberá quedar asegurado cuando el dispositivo de seguro está inclinado 12o o menos en cualquier dirección con respecto de la posición especificada por el fabricante para su instalación.
6.2.5.3.1.4 Deberá quedar asegurado cuando el dispositivo sensor está inclinado más de 27o, cuando se trate de retractores Clase 4 o 40o para la Clase 4N, en cualquier dirección con respecto de la posición especificada por el fabricante para instalación.
6.2.5.3.1.5 Cuando el funcionamiento de un retractor dependa de una señal externa o de la fuente de energía, el diseño deberá garantizar que el retractor se asegure automáticamente cuando falle o se interrumpa la señal o la fuente de energía. Sin embargo, no es necesario satisfacer este requisito cuando se trate de un retractor con múltiples sensibilidades, siempre y cuando la sensibilidad dependa de una señal externa o fuente de energía y se indique al conductor la falla de la señal o fuente de energía por un medio óptico y/o acústico.
6.2.5.3.2 Al probar, de acuerdo con el numeral 7.6.2, un retractor con seguro de emergencia de múltiple sensibilidad, incluyendo la sensibilidad del cinturón, deberá cumplir los requisitos especificados y deberá quedar asegurado cuando la aceleración del cinturón, medida en la dirección en la cual se desenrolla, no es inferior a 2,0 g.
6.2.5.3.3 Para las pruebas mencionadas en los numerales 6.2.5.3.1 y 6.2.5.3.2 anteriores, la cantidad de movimiento de la cinta, permitida antes que el retractor quede asegurado, no deberá ser superior a 50 mm, empezando con la longitud especificada en el numeral 7.6.2.1. Para la prueba mencionada en el numeral 6.2.5.3.1.2 anterior, el retractor no debe quedar asegurado durante 50 mm del movimiento de la cinta, empezando con la longitud indicada en el numeral 7.6.2.1.
6.2.5.3.4 Si el retractor forma parte de un cinturón de regazo, la fuerza retráctil de la cinta no deberá ser inferior a 0,7 daN, medida en la longitud libre entre el maniquí y el retractor, de acuerdo con el numeral 7.6.4. Si el retractor es parte de un sistema de retención de la parte superior del torso, la fuerza retráctil de la cinta no deberá ser inferior a 0,2 daN y no deberá ser superior a 0,7 daN, medida en forma similar. Si la cinta pasa a través de un guía o polea, la fuerza retráctil se medirá en la longitud libre entre el maniquí y la guía o polea. Si el conjunto incluye un dispositivo, el cual evita automática o manualmente que la cinta se retraiga totalmente, no se deberá hacer funcionar el dispositivo al evaluar estos requisitos.
6.2.5.3.5 Se halará la cinta del retractor y se permitirá que se retraiga repetidamente con el método descrito en el numeral 7.6.1, hasta completar 40 000 ciclos. Luego se someterá el retractor a la prueba de corrosión indicada en el numeral 7.2 y posteriormente a la prueba de polvo prescrita en el numeral 7.6.3. Luego deberá completar satisfactoriamente 5 000 ciclos adicionales (para un total de 45 000). Después de las anteriores pruebas, el retractor deberá funcionar correctamente y seguir cumpliendo los requisitos de los numerales 6.2.5.3.1, 6.2.5.3.2, 6.2.5.3.3 y 6.2.5.3.4, anteriores.
6.2.6 Dispositivo de carga previa
6.2.6.1 Después de pasar la prueba de corrosión, de acuerdo con el numeral 7.2, el dispositivo de carga previa (incluyendo el sensor de impacto, conectado al disposit ivo por las patas originales pero sin que pase corriente por ellas), deberá funcionar normalmente.
6.2.6.2 Se verificará que el funcionamiento inadvertido del dispositivo no signifique ningún riesgo de lesión personal para el usuario.
6.2.6.3 Cuando se trate de dispositivos pirotécnicos para carga previa:
6.2.6.3.1 Después acondicionarlos, de acuerdo con el numeral 7.9.2, la temperatura no debe haber activado el funcionamiento del dispositivo de carga previa y este deberá funcionar normalmente.
6.2.6.3.2 Se tomarán precauciones para evitar que los gases calientes expelidos por la ignición de materiales inflamables adyacentes.
6.3 Cintas
6.3.1 Generalidades
6.3.1.1 Las características de la cinta deberán asegurar que se distribuya la presión sobre el usuario, en forma tan uniforme como sea posible, en toda su anchura y que no se doblen aún bajo tensión. Todas deben tener capacidad de absorber y de dispersar energía. Las cintas deberán tener bordes terminados, los cuales no se deben desgastar con el uso.
6.3.1.2 La anchura de la cinta con una carga de 980 daN no deberá ser inferior a 46 mm. Esta dimensión se medirá durante la prueba de rotura y resistencia prescrita en el numeral 7.4.2 y sin parar la máquina.
6.3.2 Resistencia después de acondicionar en salón
Cuando se trate de dos muestras de cintas, acondicionadas de acuerdo con el numeral 7.4.1.1, la carga de rotura de la cinta, determinada como se prescribe en el numeral 7.4.2 más adelante, no deberá ser inferior a 1 470 daN. La diferencia entre las cargas de rotura de las dos muestras no deberá ser superior a 10 % de la mayor de las dos cargas de rotura medidas.
6.3.3 Resistencia después de acondicionamiento especial
Cuando se trate de dos muestras de cintas, acondicionadas de acuerdo con una de las instrucciones del numeral 7.4.1 (excepto el numeral 7.4.1.1) más adelante, la carga de rotura de la cinta no deberá ser inferior a 75 % del promedio de las cargas determinadas en la prueba mencionada en el numeral 6.3.2 y no deberá ser inferior a 1 470 daN. El servicio técnico que conduzca la prueba podrá omitir una o varias de estas pruebas si la composición del material que se usa, o la información disponible hace que la o las pruebas sean superfluas.
6.4 Conjunto de cinturón o sistema de retención
6.4.1 Prueba dinámica
6.4.1.1 Se someterá el conjunto del cinturón o el sistema de retención a una prueba dinámica de acuerdo con el numera 7.7, más adelante.
6.4.1.2 Se hará la prueba dinámica con dos conjuntos de cinturones, los cuales no han estado previamente bajo carga, excepto cuando se trate de conjuntos de cinturones que formen parte de los sistemas de retención, en cuyo caso se hará la prueba dinámica al sistema de retención diseñado para un grupo de sillas, el cual no deberá haber estado previamente bajo carga. Las hebillas de los conjuntos que se prueben deberán haber cumplido los requisitos de la numeral 6.2.2.4, anterior. Cuando los cinturones de seguridad tengan retractores, el retractor deberá haber pasado la prueba de resistencia al polvo, especificada en el numeral 7.6.3; además, si los cinturones de seguridad o los sistemas de retención están equipados con un dispositivo de carga previa, el cual comprende un medio pirotécnico, el dispositivo deberá estar acondicionado como se especifica en el numeral 7.9.2.
6.4.1.2.1 Los cinturones deberán haber pasado la prueba de corrosión, descrita en el numeral 7.2, después de la cual se abrirán y se someterán la s hebillas a un ciclo de apertura y cierre de 500 veces en condiciones normales de uso.
6.4.1.2.2 Los cinturones de seguridad con retractores se someterán bien sea a las pruebas descritas en el numeral 6.2.5.2 o a las descritas en el numeral 6.2.5.3. Sin embargo, si el retractor ya ha pasado la prueba de corrosión de acuerdo con el numeral 6.4.1.2.1 anterior, no será necesario repetir esta prueba.
6.4.1.2.3 Cuando el cinturón tenga un dispositivo de ajuste de altura del cinturón, como se define en el numeral 2.9.6 anterior, se hará la prueba con el dispositivo ajustado en la o las posiciones más desfavorables, escogidas por el servicio técnico responsable de las pruebas.
6.4.1.2.4 Cuando el cinturón de seguridad tenga un dispositivo de carga previa, se hará una de las pruebas dinámicas con el dispositivo funcionando y la otra con el dispositivo sin funcionar.
En el primer caso:
6.4.1.2.4.1 Durante la prueba, el desplazamiento mínimo especificado en el numeral 6.4.1.3.2 anterior, se podrá reducir a la mitad.
6.4.1.2.4.2 Después de la prueba, la fuerza medida, como se indica en el numeral 7.9.1, no deberá superar 100 daN.
6.4.1.3 Durante la prueba, se deberán cumplir los siguientes requisitos:
6.4.1.3.1 No se deberá romper ninguna pieza del conjunto del cinturón ni del sistema de retención del ocupante y no se deberá soltar o abrir ninguna hebilla, ni sistema de seguro o de desplazamiento; y
6.4.1.3.2 el desplazamiento del maniquí hacia adelante deberá estar entre 80 mm y 200 mm al nivel de la pelvis, cuando se trate de cinturones de regazo. Con otros sistemas de cinturones, el desplazamiento hacia adelante deberá estar entre 80 mm y 200 mm al nivel de la pelvis y entre 100 mm y 300 mm al nivel del pecho. Estos desplazamientos son los relacionados con los puntos de medida indicados en el Anexo 7, Figura 6 de esta norma.
6.4.1.4 Cuando se trate de un sistema de retención:
6.4.1.4.1 El movimiento del punto de referencia con respecto del pecho podrá superar el especificado en el numeral 6.4.1.3.2, anterior, si se puede demostrar, bien sea con cálculo, o con una prueba posterior que ninguna parte del torso o de la cabeza del maniquí que se usa para la prueba dinámica habría tenido contacto con cualquier pieza rígida en la parte delantera del vehículo, distinta del pecho con el conjunto del timón, si este último cumple los requisitos de la Norma número 12, siempre y cuando el contacto no se presente a una velocidad superior a 24 km/h. Para esta evaluación se considerará que la silla está en la posición especificada en el numeral 7.7.1.5, más adelante.
6.4.1.4.2 En los vehículos que usen estos dispositivos, los sistemas de desplazamiento y de seguro que permiten a los ocupantes de todas las sillas salir del vehículo, se podrán hacer funcionar manualmente después de la prueba dinámica.
6.4.1.5 Mediante derogación, cuando se trate de un sistema de retención, los desplazamientos podrán ser superiores a los especificados en el numeral 6.4.1.3.2 si el anclaje en la parte superior instalado en la silla se beneficia con la derogatoria prevista en la Norma número 14, numeral 7.4."
6.4.2 Resistencia, después de acondicionar por abrasión
6.4.2.1 En ambas muestras acondicionadas de acuerdo con el numeral 7.4.1.6, más adelante, se evaluará la resistencia a la rotura como se prescribe en los numerales 7.4.2 y 7.5, más adelante. Deberá ser igual a no menos de 75 % del promedio de resistencia a la rotura, determinada durante las pruebas de cintas sin desgaste y n o menos de la carga mínima especificada para la pieza que se prueba. La diferencia entre la resistencia a la rotura de las dos muestras no deberá superar el 20 % de la mayor resistencia a la rotura medida. Con los procedimientos de las Clases 1 y 2, la prueba de resistencia a la rotura se hará sólo con muestras de las cintas (véase el numeral 7.4.2). Con el procedimiento Clase 3 se hará la prueba de resistencia a la rotura con la cinta y los componentes de metal que correspondan (véase el numeral 7.5).
6.4.2.2 Las piezas del conjunto del cinturón que se someterán a un procedimiento de abrasión se indican en la siguiente tabla y las clases de procedimientos adecuados se indican con una "x". Se usará una nueva muestra para cada procedimiento.

7. PRUEBAS
7.1 Uso de muestras presentadas para aprobación de una clase de cinturón o sistema de retención (véase el Anexo 13 de esta norma).
7.1.1 Se requieren dos cinturones o sistemas de retención para inspeccionar la hebilla, para la prueba de baja temperatura de la hebilla, la prueba de baja temperatura descrita en el numeral 7.5.4, más adelante, como sea necesario, la prueba de duración de la hebilla, la prueba de corrosión del cinturón, las pruebas de operación del retractor, las pruebas dinámicas y la prueba de apertura de la hebilla después de la prueba dinámica. Se usará una de estas dos muestras para inspeccionar el cinturón o el sistema de retención.
7.1.2 Se necesita un cinturón o un sistema de retención para inspeccionar la hebilla y para las pruebas de resistencia de la hebilla, los herrajes de montaje, el dispositivo de ajuste del cinturón y, cuando sea necesario, los retractores.
7.1.3 Se necesitan dos cinturones o sistemas de retención para inspeccionar la hebilla, la prueba de micro-deslizamiento y la prueba de abrasión. La prueba de funcionamiento del dispositivo de ajuste del cinturón se hará con una de estas dos muestras.
7.1.4 Se usará la muestra de la cinta para probar la resistencia de la cinta a la rotura, Se guardará parte de esta muestra mientras la aprobación esté vigente.
7.2 Prueba de corrosión
7.2.1 Se colocará un conjunto completo de cinturón en el salón de pruebas, como se prescribe en el Anexo 12 de esta norma. Cuando se trate de un conjunto con retractor, se desenrollará toda la longitud de la cinta menos 200 mm ± 3 mm. Excepto por las cortas interrupciones que pueden ser necesarias, por ejemplo para verificar y completar la solución salina, la prueba de exposición se hará en forma continua durante un período de 50 h.
7.2.2 Un vez terminada la prueba de exposición, se lavará suavemente el conjunto, o se sumergirá en agua corriente limpia a una temperatura no superior a 38 oC para remover los depósitos de sal que se puedan haber formado y luego se dejará secar a temperatura ambiente, durante 24 h, antes de inspeccionarla de acuerdo con el numeral 6.2.1.2, anterior.
7.3 Prueba De Micro-Deslizamiento (véase el Anexo 11, Figura 3 de esta norma)
7.3.1 La muestra que se presentará para la prueba de micro-deslizamiento se guardará durante 24 h en una atmósfera a temperatura de 20 oC ± 5 oC y humedad relativa de 65 % ± 5 %. Se hará la prueba a temperaturas entre 15 oC y 30 oC.
7.3.2 Se verificará que la sección libre del dispositivo de ajuste esté dirigido hacia arriba o hacia abajo en el banco de prueba, como está en el vehículo.
7.3.3 Se colocará una carga de 5 daN en el extremo inferior de la sección de la cinta. El otro extremo se moverá hacia adelante y hacia atrás con una amplitud total de 300 mm ± 20 mm (véase la Figura).
7.3.4 Si hubiera un extremo libre, el cual serviría como cinta de reserva, no deberá estar asegurado o agarrado a la sección bajo carga.
7.3.5 Se deberá verificar que cuando la cinta esté floja sobre el banco de prueba, descienda formando una curva cóncava a partir del dispositivo de ajuste, como lo hace en el vehículo. La carga de 5 daN, aplicada al banco de prueba se guiará verticalmente, para evitar que la carga se balancee y se tuerza el cinturón. El Anexo se fijará a la carga de 5 daN, como en el vehículo.
7.3.6 Antes de iniciar la prueba, se hará una serie de 20 ciclos para que el sistema de ajuste automático se ajuste adecuadamente.
7.3.7 Se completarán 1 000 ciclos con una frecuencia de 0,5 ciclos por segundo, con una amplitud total de 300 mm ± 20 mm. Se aplicará la carga de 5 daN únicamente durante el tiempo que corresponda a una vuelta de 100 mm ± 20 mm durante cada medio período.
7.4 Acondicionamiento de las cintas y prueba de resistencia a la rotura (estática)
7.4.1 Acondicionamiento de las cintas y prueba de resistencia a la rotura
Se acondicionarán muestras cortadas de la cinta mencionada en el numeral 3.2.4, anterior, de la siguiente manera:
7.4.1.1 Acondicionamiento por temperatura e higrometría
La cinta se mantendrá durante no menos de 24 h en una atmósfera a temperatura de 20 oC ± 5 oC y humedad relativa de 65 % ± 5%. Si la prueba no se hace inmediatamente después de acondicionar, se colocará la muestra en un recipiente hermético hasta que se inicie la prueba. Se determinará la carga de rotura 5 min después de retirar la cinta de la atmósfera de acondicionamiento o del recipiente.
7.4.1.2 Acondicionamiento por luz
7.4.1.2.1 Regirán las disposiciones de la Recomendación ISO 105-B02 (1978). Se expondrá la cinta a la luz, durante el tiempo necesario para producir un contraste igual al Grado 4 de la escala de grises según la Norma de Teñido Azul No. 7.
7.4.1.2.2 Después de exponer la cinta, se guardará durante no menos de 24 h en una atmósfera a temperatura de 20oC ± 5oC y humedad relativa de 65 % ± 5 %. Si la prueba no se hace inmediatamente después de acondicionar, se colocará la muestra en un recipiente hermético hasta que se inicie la prueba. Se determinará la carga de rotura 5 min después de retirar la cinta de la instalación para acondicionamiento.
7.4.1.3 Acondicionamiento en frío
7.4.1.3.1 La cinta se mantendrá durante no menos de 24 h en una atmós fera a temperatura de 20oC ± 5oC y humedad relativa de 65 % ± 5 %.
7.4.1.3.2 Luego se colocará la cinta durante hora y media sobre una superficie plana, en una cámara a baja temperatura, en la cual la temperatura del aire sea de-30 oC ± 5 oC. Luego se doblará y se cargará el doblez con una masa de 2 kg previamente enfriada a-30 oC ± 5 oC. Cuando la cinta haya estado 30 min baja la carga, en la misma cámara a baja temperatura, se retirará la masa y se medirá la carga de rotura 5 min después de retirar la cinta de la cámara a baja temperatura.
7.4.1.4 Acondicionamiento al calor
7.4.1.4.1 Se mantendrá la cinta durante 3 h en un gabinete caliente, en una atmósfera a temperatura de 60 oC ± 5 oC y humedad relativa de 65 % ± 5 %.
7.4.1.4.2 Se determinará la carga de rotura 5 min después de retirar la cinta del gabinete caliente.
7.4.1.5 Exposición al agua
7.4.1.5.1 Se mantendrá la cinta totalmente sumergida en agua destilada, a la cual se le ha agregado una traza de agente humedecedor, durante 3 h, a una temperatura de 20 oC ± 5 oC. Se podrá usar cualquier agente humedecedor adecuado para la fibra.
7.4.1.5.2 Se determinará la carga de rotura 10 min después de retirar la cinta del agua.
7.4.1.6 Acondicionamiento por abrasión
7.4.1.6.1 Se hará el acondicionamiento por abrasión a cada dispositivo en el cual tenga contacto la cinta con una pieza rígida del cinturón, excepto todos los dispositivos de ajuste, cuando la prueba de micro-deslizamiento (véase el numeral 7.5) demuestre que el deslizamiento de la cinta es menor que el valor prescrito, en cuyo caso, no será necesario el procedimiento 1 de acondicionamiento por abrasión. El dispositivo de acondicionamiento se colocará aproximadamente en la misma posición de la cinta y del área de contacto.
7.4.1.6.2 Se mantendrá la muestra, durante 24 h como mínimo, en una atmósfera con temperatura de 20oC ± 5oC y humedad relativa de 65 % ±5 %. Durante la abrasión la temperatura ambiente deberá estar entre 15oC y 30oC.
7.4.1.6.3 La tabla a continuación contiene una lista de las condiciones generales para cada procedimiento de abrasión.

* Véase el numeral 7.4.1.6.4.3.
El cambio indicado en la quinta columna de esta tabla, representa la amplitud de movimiento hacia adelante y hacia atrás, aplicado a la cinta.
7.4.1.6.4 Procedimientos particulares para el acondicionamiento
7.4.1.6.4.1 Procedimiento 1: Se usa cuando la cinta se desliza por un dispositivo de ajuste.
Se mantendrá una carga vertical constante en un extremo de la cinta- el otro extremo de la cinta deberá estar colocado en un dispositivo que mueva la cinta hacia adelante y hacia atrás.
El dispositivo de ajuste deberá estar colocado en la cinta horizontal, de manera que la cinta permanezca tensa (véase el Anexo 11, Figura 1 de esta norma).
7.4.1.6.4.2 Procedimiento 2: Se usa cuando la cinta cambia de dirección al pasar por una pieza rígida.
Durante esta prueba se mantendrán los ángulos de la cinta como se indica en el Anexo 11, Figura 2 de esta norma.
Se mantendrá la carga estable de 0,5 daN durante toda la prueba.
Cuando la cinta cambie de dirección más de una vez al pasar por una pieza rígida, se podrá aumentar la carga de 0,5 daN para alcanzar el movimiento prescrito para la cinta, de 300 mm a través de la pieza rígida.
7.4.1.6.4.3 Procedimiento 3: Se usa cuando la cinta está fija a una pieza rígida, cosida o de forma similar.
El movimiento hacia adelante y hacia atrás deberá ser de 300 mm ± 20 mm en total pero sólo se aplicará la carga de 5 daN durante el ciclo de 100 mm ± 20 mm de cada medio período (véase el Anexo 11, Figura 3 de esta norma).
7.4.2 Prueba de resistencia a la rotura de la cinta (prueba estática).
7.4.2.1 Se hará la prueba con dos muestras de la cinta cada vez, las cuales deberán tener suficiente longitud y se acondicionarán de acuerdo con el numeral 7.4.1.
7.4.2.2 Cada cinta deberá estar entre dos mordazas de la máquina de prueba de tracción. Las mordazas deberán estar diseñadas de tal manera que se evite la rotura de la cinta cerca de la mordaza. La velocidad del recorrido deberá ser de aproximadamente 100 mm/min. Al principio de la prueba, la longitud libre del espécimen, entre las mordazas de la máquina será de 200 mm ± 40 mm.
7.4.2.3 Cuando la carga alcance 980 daN, se medirá la anchura de la cinta, sin parar la máquina.
7.4.2.4 Se aumentará la tensión hasta que se rompa la cinta y se tomará nota de la carga de rotura.
7.4.2.5 Si la cinta se desliza o se rompe a una distancia aproximada de 10 mm de las mordazas, la prueba será inválida y se hará una nueva prueba con otro espécimen.
7.5 Prueba de los componentes del conjunto del cinturón que tenga piezas rígidas
7.5.1 La hebilla y el dispositivo de ajuste deberán estar conectados al aparato de prueba de tracción por las piezas del conjunto del cinturón, por las cuales se colocan normalmente y entonces se elevará la carga hasta 980 daN.
Cuando se trate de arneses, la hebilla deberá estar conectada al aparato de prueba por las cintas en las cuales está instalada la hebilla y la lengüeta o las dos lengüetas deberán estar colocadas en forma casi simétrica con el centro de la hebilla. Si la hebilla, o el dispositivo de ajuste, forma parte del herraje, o si es una pieza común de un cinturón de tres puntos, la hebilla, o el dispositivo de ajuste, se probará con el herraje, de acuerdo con el numeral 7.5.2, más adelante, excepto cuando se trate de retractores con polea o guía de cinta en el anclaje superior del cinturón, en cuyo caso la carga será de 980 daN y la longitud de la cinta que permanece enrollada en el carrete será la longitud que resulte de asegurar a una distancia tan cercana como sea posible a 450 mm del extremo de la cinta.
7.5.2 Se probarán los herrajes y cualquier dispositivo de ajuste de altura del cinturón. Como se indica en el numeral 7.5.1, pero la carga será de 1,460 daN y se deberá aplicar, de acuerdo con indicaciones del segundo párrafo del numeral 7.7.1, más adelante, en las condiciones más desfavorables que se puedan presentar en un vehículo en el cual el cinturón está correctamente instalado. Cuando se trate de retractores, la prueba se hace con la cinta totalmente enrollada en el carrete.
7.5.3 Se colocarán dos muestras del conjunto completo de cinturón, en un gabinete refrigerado a- 10 oC ± 1 oC, durante 2 h. Las piezas se la hebilla se acoplarán manualmente, inmediatamente después de retirarlas del gabinete refrigerado.
7.5.4 Se colocarán dos muestras del conjunto completo de cinturón en un gabinete refrigerado a- 10 oC ± 1 oC, durante 2 h. Las piezas rígidas y las piezas plásticas de la prueba, se colocarán en forma plana, sobre una superficie rígida de acero (la cual se ha mantenido con las muestras en el gabinete refrigerado), colocada sobre la superficie horizontal de un bloque rígido y compacto, el cual tendrá una masa no inferior a 100 kg y, 30 s después de retirarlas del gabinete refrigerado, se dejará caer por gravedad una masa de acero de 18 kg, a través de 300 mm de la muestra de la prueba. La cara de impacto de la masa de 18 kg deberá tener la forma de una superficie convexa con una dureza no inferior a 45 HRC, un radio transversal de 10 mm y un radio longitudinal de 150 mm colocado en la línea del centro de la masa. Se probará una muestra con el eje de la barra curva alineada con la cinta y la otra muestra se probará a 90o de la cinta.
7.5.5 Las hebillas que tengan partes comunes a dos cinturones de seguridad se cargarán de tal manera que simulen las condiciones de uso en el vehículo, con las sillas en la posición media de su ajuste. Se aplicará simultáneamente una carga de 1 470 daN a cada cinta. La dirección para aplicar la carga se determinará de acuerdo con el numeral 7.7.1, más adelante. El Anexo 10 de esta norma describe el dispositivo adecuado para esta prueba.
7.5.6 Al probar el dispositivo de ajuste manual, se debe halar la cinta en forma constante, a través del dispositivo de ajuste, teniendo en cuenta las condiciones normales de uso, a una tasa aproximada de 100 m/s y se medirá la fuerza máxima al 0,1 daN más cercano cuando la cinta se haya movido 25 mm. La prueba se hará en ambas direcciones de movimiento de la cinta a través del dispositivo, durante 10 ciclos antes de tomar la medida.
7.6 Pruebas adicionales para cinturones de seguridad con retractores
7.6.1 Durabilidad del mecanismo de retracción
7.6.1.1 La cinta se halará y se dejará que se retraiga durante la cantidad de ciclos necesarios, a una tasa no superior a 30 ciclos por minuto. Cuando tenga retractores con seguro de emergencia, en cada quinto ciclo se moverá una ranura del seguro del retractor.
Se cambiará la misma cantidad de ranuras en cada una de las cinco distintas extracciones de la cinta, es decir a 90%, 80%, 75%, 70% y 65% de la longitud total de la cinta que permanece enrollada en el retractor. Sin embargo, cuando la cinta tiene más de 900 mm, se relacionarán los anteriores porcentajes con los últimos 900 mm de la cinta, retirados del retractor.
7.6.1.2 En el Anexo 3 de esta norma se indica un aparato adecuado para las pruebas indicadas en el numeral 7.6.1.1, anterior.
7.6.2 Seguro de los retractores de emergencia con seguro
7.6.2.1 Se probará una vez la forma como asegura el retractor cuando la cinta está desenrollada en toda su longitud menos 300 mm ± 3 mm.
7.6.2.1.1 Cuando el retractor actúa al moverse la cinta, la extracción se hará en la dirección normal, cuando se instala el retractor en el vehículo.
7.6.2.1.2 Cuando se prueba la sensibilidad de los retractores a la desaceleración del vehículo, se probará la extracción indicada en dos ejes perpendiculares, los cuales son el eje horizontal si el retractor está instalado en un vehículo como especifique el fabricante del cinturón de seguridad. Cuando no se especifique la posición, la autoridad que hace la prueba deberá consultar con el fabricante del cinturón de seguridad. Uno de estos ejes deberá ser la dirección escogida por el servicio técnico qu e hace la prueba para aprobación, para obtener las condiciones más adversas con respecto de la activación del mecanismo de seguridad.
7.6.2.2 El aparato adecuado para las pruebas especificadas en el numeral 7.6.2.1, anterior, se describe en el Anexo 4 de esta norma. El diseño de cualquiera de tales aparatos de prueba deberá asegurar que se obtenga la aceleración necesaria antes de retirar la cinta del retractor más de 5 mm y que la retracción se haga a una tasa promedio de aumento de aceleración no inferior a 25 g/s* y no superior a 150 g/s.*
7.6.2.3 Para verificar si se cumplen los requisitos de los numerales 6.2.5.3.1.3 y 6.2.5.3.1.4, el retractor deberá estar montado sobre una mesa horizontal y la tabla se inclinará a una velocidad que no supere 2o por segundo, hasta que se asegure el retractor. La prueba se repetirá inclinando en otras direcciones para verificar si se cumplen los requisitos.
7.6.3 Resistencia al polvo
7.6.3.1 El retractor se colocará en una cámara de prueba, como se describe en el Anexo 5 de esta norma. Deberá estar montado en una orientación similar a la de montaje en el vehículo. La cámara de prueba deberá contener polvo, como se especifica en el numeral 7.6.3.2, más adelante. Se extraerá del retractor una longitud de 500 mm de la cinta y se mantendrá extraída, sin embargo, se deberá someter a 10 ciclos completos de retracción y extracción, durante 1 min o 2 min después de cada vez que se agita el polo. Durante un período de 5 h se agitará el polvo cada 20 min durante cinco segundos con aire comprimido libre de aceite y humedad, a una presión calibrada de 5.5 105 ± 0,5 105 Pa, el cual entrará por un orificio con un diámetro de 1,5 mm ± 0,1 mm.
7.6.3.2 El polvo que se use para la prueba descrita en el numeral 7.6.3.1 anterior, deberá tener cerca de 1 kg de cuarzo seco. La distribución del tamaño de las partículas es el siguiente:
(a) pasa por una apertura de 150 m, alambre de diámetro 104 m: 99% a 100%.
(b) pasa por una apertura de 105 m, alambre diámetro 64 m: 76% a 86%.
(c) pasa por una apertura de 75 m, alambre diámetro 52 m: 60% a 70%.
7.6.4 Fuerzas retractoras.
7.6.4.1 Las fuerzas retractoras se medirán con el conjunto del cinturón de seguridad colocado en un maniquí, al igual que para la prueba de dinámica prescrita en el numeral 7.7. Se medirá la tensión de la cinta en el punto de contacto con el maniquí (apenas separado) mientras se retrae la cinta a una tasa aproximada de 0,6 m/min.
7.7 Prueba dinámica del conjunto de cinturón o del sistema de retracción
7.7.1 El conjunto del cinturón deberá estar montado en un carro equipado con la silla y el anclaje definido en el Anexo 6 de esta norma. Sin embargo, si el conjunto del cinturón está diseñado para un vehículo específico, o para clases específicas de vehículos, el servicio que hace las pruebas determinará las distancias entre el maniquí y los anclajes, bien sea de acuerdo con las instrucciones para colocarlo suministradas con el cinturón, de acuerdo con los datos del fabricante del vehículo. Si el cinturón está equipado con un dispositivo para ajustar la altura del cinturón, como el que se define en el numeral 2.9.6, anterior, la posición del dispositivo y del seguro será igual a la diseñada para el vehículo.
En tal caso, después de hacer la prueba dinámica para una clase de vehículo, no será necesario repetirla para otras clases de vehículos si el punto de anclaje está a una distancia menos del respectivo punto de anclaje del cinturón que se prueba. Como alternativa, el fabricante podrá determinar las posiciones hipotéticas de anclaje para las pruebas, con el fin de abarcar la mayor cantidad de puntos de anclaje real.
7.7.1.1 Cuando el cinturón de seguridad y el sistema retractor formen parte de un conjunto para el cual se solicita aprobación como sistema de retracción, el cinturón de seguridad deberá estar montado en la parte de la estructura del vehículo en la cual se instala normalmente el sistema de retracción y esta parte deberá estar rígidamente colocada en el carro de prueba, en la forma prescrita en los numerales 7.7.1.2 a 7.7.1.6.
Cuando el cinturón de seguridad o el sistema de retractor tengan dispositivos de carga previa que funcionan con componentes distintos de los incorporados en el conjunto del cinturón mismo, el conjunto del cinturón deberá estar montado con las piezas adicionales del vehículo, en el carro de prueba, en la forma prescrita en los numerales 7.7.1.2 a 7.7.1.6.
Como alternativa, cuando no se puedan probar los dispositivos en el carro de prueba, el fabricante podrá demostrar, mediante una prueba convencional de impacto frontal a 50 km, de acuerdo con el procedimiento de la norma ISO 3560 (1975) que el dispositivo cumple los requisitos de la norma.
7.7.1.2 El método que se use para asegurar el vehículo durante la prueba no deberá fortalecer los anclajes de las sillas o de los cinturones de seguridad, ni deberá reducir la deformación normal de la estructura. No deberá haber ninguna parte del frente del vehículo, la cual, al limitar el movimiento del maniquí hacia adelante, con excepción de los pies, reduciría la carga impuesta al resto del sistema durante la prueba. Las partes de la estructura que se hayan eliminado, se pueden reemplazar por piezas de resistencia equivalente, siempre y cuando no impidan el movimiento del maniquí hacia adelante.
7.7.1.3 Se entenderá que un dispositivo de seguridad es satisfactorio si no produce efectos en un área que se extienda a todo lo ancho de la estructura y si el frente del vehículo o de la estructura está bloqueado o fijo a una distancia no inferior a 500 mm del anclaje del sistema de retención. En la parte posterior, la estructura deberá estar asegurada a suficiente distancia hacia atrás de los anclajes, para asegurar que se cumplen los requisitos del numeral 7.7.1.2, anterior.
7.7.1.4 Las sillas estarán montadas y colocadas en la posición para conducir escogida por el servicio técnico que hace las pruebas de aprobación, para obtener las condiciones más adversas con respecto de resistencia y compatibles con la instalación del maniquí en el vehículo. Las posiciones de las sillas se declararán en el informe. El espaldar de las sillas, si se puede ajustar su inclinación, deberá estar asegurado como especifique el fabricante o, a falta de especificaciones, en el ángulo real, tan cerca como sea posible a 25o para los vehículos de la categoría M1 y N1 y tan cerca como sea posible de 15o en los vehículos de las demás categorías.
7.7.1.5 Para evaluar los requisitos del numeral 6.4.1.4.1, se considerará la silla en la posición más ade lante para conducir o viajar adecuada a los tamaños de los maniquís.
7.7.1.6 Se probarán simultáneamente todas las sillas de cualquier grupo.
7.7.2 El conjunto del cinturón deberá estar colocado en el maniquí, como se indica en el Anexo 7 de esta norma así: se colocará una placa de madera de 25 mm de espesor entre la espalda del maniquí y el espaldar de la silla. Se ajustará el cinturón firmemente al maniquí. Luego se retirará la placa de manera que toda la espalda esté en contacto con el espaldar de la silla. Se verificará que las dos piezas que cierran la hebilla no signifiquen un riesgo que puede reducir la fiabilidad del seguro.
7.7.3 Los extremos libres de la cinta deberán sobresalir suficientemente de los dispositivos de ajuste para permitir que se deslicen.
7.7.4 Luego se impulsará el carro de manera que al momento del impacto tenga una velocidad de 50 km ± 1 km y que el maniquí permanezca estable. La distancia para que pare el carro será de 40 comunicación ± 5 comunicación. La roldanda deberá permanecer horizontal durante toda la desaceleración. La desaceleración del carro se activará usando el aparato descrito en el Anexo 6 de esta norma, o cualquier otro dispositivo con el cual se obtengan resultados similares. Este aparato deberá funcionar como se especifica en el Anexo 8 de esta norma.
7.7.5 Se medirá la velocidad del carro y el desplazamiento máximo del maniquí inmediatamente antes del impacto.
7.7.6 Después del impacto, se inspeccionará visualmente el conjunto del cinturón o el sistema de retención y sus piezas rígidas, sin abrir las hebillas, para determinar si se ha presentado alguna falla o rotura. En los sistemas de retención se verificará, además, después de la prueba, si las piezas de la estructura del vehículo instaladas en el carro han sufrido alguna deformación permanente, detectable a primera vista. Si se observa tal deformación se tendrá en cuenta para el cálculo, de acuerdo con el numeral 6.4.1.4.1.
7.8 Prueba de apertura de la hebilla
7.8.1 Para esta prueba se usarán conjuntos de cinturones o dispositivos de retención que ya hayan pasado la prueba dinámica, de acuerdo con el numeral 7.7 anterior.
7.8.2 Se retirará del carro el conjunto del cinturón, sin abrir la hebilla. Se aplicará a la hebilla una carga de tracción directa, con las cintas amarradas a la hebilla, de manera que todas las cintas se sometan a una fuerza de 60/n daN. (Queda entendido que n es la cantidad de cintas amarradas a la hebilla, cuando está cerrada). Cuando la hebilla esté conectada a una pieza rígida, se aplicará la carga en el mismo ángulo que formaba la hebilla con el extremo rígido, durante la prueba dinámica. Se aplicará una carga a una velocidad de 400 mm/min ± 20 mm/min, en el centro geométrico del botón que abre la hebilla a lo largo de un eje fijo, el cual corre paralelo con la dirección inicial de apertura del botón. Durante la aplicación de la fuerza necesaria para abrir la hebilla, esta deberá estar sostenida por un soporte rígido. La carga mencionada no deberá superar el límite indicado en el numeral 6.2.2.5, anterior. El punto de contacto del equipo de prueba tendrá una forma esférica con un radio de 2,5 mm ± 0,1 mm. La superficie deberá ser de metal pulido.
7.8.3 Se medirá la fuerza necesaria para abrir la hebilla y se tomará nota de cualquier falla de la hebilla.
7.8.4 Después de la prueba de apertura de la hebilla, se inspeccionará el componente del conjunto del cinturón o del dispositivo de retención sometido a la prueba prescrita en el numeral 7.7 anterior y, en el informe de la prueba, se registrará el alcance de los daños sufridos por el conjunto del cinturón o por el dispositivo de retención durante la prueba dinámica.
7.9 Pruebas adicionales para cinturones de seguridad con dispositivos de carga previa
7.9.1 Se medirá la fuerza previamente cargada, en menos de cuatro segundos después del impacto, tan cerca como sea posible del punto de contacto con el maniquí con la longitud libre de la cinta entre el maniquí y el dispositivo de carga previa o guía, si la hubiera, volviendo a colocar el maniquí en la posición sentada original, si fuera necesario.
7.9.2 Condicionamiento
El dispositivo de carga previa podrá estar separado del cinturón de seguridad que se pruebe y se mantendrá a una temperatura de 60 oC ± 5 oC, durante 24 h. Luego se elevará la temperatura a 100 oC ± 5 oC durante 2 h. Posteriormente se mantendrá a una temperatura de - 30 oC ± 5 oC durante 24 h. Después de acondicionar, se calentará el dispositivo a temperatura ambiente. Si el dispositivo está separado, se volverá a colocar en el cinturón de seguridad.
7.10 Informe de la prueba
7.10.1 El informe de la prueba deberá indicar los resultados de todas las pruebas indicadas en el numeral 7, anterior y en particular la velocidad del carro, el desplazamiento máximo del maniquí, el sitio- si se puede variar- que ocupaba la hebilla durante la prueba, la fuerza de apertura de la hebilla y cualquier falla o rotura. Si, de acuerdo con el numeral 7.7.1, no se respetaron los anclajes prescritos en el Anexo 6 de esta norma, el informe deberá describir la forma como se instaló el conjunto del cinturón o el sistema de retención y deberá especificar los ángulos y dimensiones importantes. El informe también deberá mencionar cualquier distorsión o rotura de la hebilla durante la prueba. Para el sistema de retención, el informe de la prueba también deberá especificar la forma como se instaló la estructura del vehículo en el carro, la posición de las sillas y la inclinación de los espaldares. Si el desplazamiento del maniquí hacia adelante supera los valores prescritos en el numeral 6.4.1.3.2 anterior, el informe deberá indicar si se han cumplido los requisitos del numeral 6.4.1.4.2.
8. CONFORMIDAD DE LA PRODUCCION
La conformidad de los procedimientos de producción debe cumplir los especificados en este Acuerdo, Apéndice 2 (E/ECE/324- E/ECE/ TRANS /505 / Rev.2), con los siguientes requisitos:
8.1 Cualquier cinturón de seguridad o sistema de retención aprobado de acuerdo con esta norma, se deberá fabricar de manera que sea homogéneo con la clase aprobada y cumpla los requisitos especificados en los numerales 6 y 7 anteriores.
8.3.5 Se deberá cumplir el requisito mínimo de consistencia con los procedimientos de control de producción, especificados en el Anexo 14 de esta norma.
8.4.5 La autoridad que ha otorgado la aprobación de la clase podrá, en cualquier momento, verificar si los métodos de control utilizados en cada una de las instalaciones de producción es consistente. La frecuencia normal de tales verificaciones deberá ser de dos veces al año.
9. PENALIZACIONES EN CASO DE FALTA DE CONFORMIDAD DE LA PRODUCCION
9.1 Se podrá invalidar la aprobación otorgada con respecto de una clase de cinturón o sistema de retención, si un conjunto de cinturón con los particulares mencionados en el numeral 5.4 no pasa las verificaciones al azar, prescritas en el numeral 8, anterior, o si no cumple con la aprobación de clase.
9.2 Si una de la Partes Contratantes del Acuerdo al cual se aplica esta norma, invalida una aprobación otorgada previamente, deberá notificar inmediatamente a las demás Partes Contratantes que apliquen esta norma, mediante el formato de comunicación, similar al modelo del Anexo 1 de esta norma.
10. MODIFICACIONES Y AMPLIACIONES DE LA APROBACION DEL CINTURON O DEL SISTEMA DE RETENCION
10.1 Se notificará cada modificación de la clase de cinturón o del sistema de retención, al departamento administrativo que aprobó la clase de cinturón. El departamento podrá:
10.1.1 Considerar que las modificaciones posiblemente no tengan mayor efecto adverso y, en ese caso, el cinturón de seguridad todavía cumple los requisitos; o
10.1.2 Es necesario que el servicio técnico que hizo las pruebas expida un nuevo informe.
10.2 La confirmación o la negación de la aprobación, especificando las alteraciones, se comunicará mediante el procedimiento especificado en el numeral 5.3, anterior, a las Partes del Acuerdo al cual se aplique esta norma.
10.3 Cuando la autoridad competente otorga la ampliación de una aprobación, deberá asignar una serie de números a dicha ampliación e informar a las otras Partes del Acuerdo de 1958, las cuales se rijan por esta norma, mediante el formato de comunicación similar al modelo del Anexo 1 de esta norma.
11. PRODUCCION DISCONTINUADA DEFINITIVAMENTE
Si el titular de la aprobación cesa totalmente la fabricación de un dispositivo aprobado de acuerdo con esta norma, deberá informarlo a la autoridad que otorgó la aprobación. Cuando esa autoridad reciba la comunicación, deberá informar a las otras Partes del Acuerdo de 1958, las cuales se rijan por esta norma, mediante el formato de comunicación similar al modelo del Anexo 1 de esta norma.
12. INSTRUCCIONES
Cada cinturón de seguridad deberá estar acompañado de las instrucciones mencionadas en el Anexo 9 de esta norma.
13. NOMBRES Y DIRECCIONES DE LOS SERVICIOS TECNICOS RESPONSABLES DE LAS PRUEBAS DE APROBACION Y DE LOS DEPARTAMENTOS ADMINISTRATIVOS
Las Partes del Acuerdo de 1958, las cuales se rijan por esta norma, deberán comunicar al Secretariado de las Naciones Unidas, los nombres y direcciones de los servicios técnicos responsables de conducir las pruebas de aprobación y las de los departamentos administrativos que otorgaron la aprobación o negaron la ampliación, o cancelaron la aprobación otorgada en otros países.
(Máximo formato: A (210 mm x 297 mm)
COMUNICACIÓN
Expedida por:
Nombre de la administración

.
Relacionada con:2/ APROBACION OTORGADA
APROBACION AMPLIADA
APROBACION NEGADA
APROBACION CANCELADA
PRODUCCION DISCONTINUADA DEFINITIVAMENTE
de una clase de cinturones de seguridad o sistemas de retención para ocupantes adultos de vehículos automotores, de acuerdo con la norma 16.
Aprobación No........................................ Ampliación No....................................
1. Sistema de retención (con) / cinturón de tres puntos / cinturón de regazo / clase especial de cinturón / equipado (con) amortiguador / retractor / dispositivo para ajustar la altura del rizo superior 3/ .........................................................................................................................
2. Marca o nombre de fábrica............................................................................................
3. Designación del fabricante para la clase de cinturón o sistema de retención..............
4. Nombre del fabricante..................................................................................................
5. Si es el caso, nombre de su representante.......................................................................
6. Dirección..........................................................................................................................
7. Presentado para aprobación el.......................................................................................
8. Servicio técnico responsable de las pruebas de aprobación.........................................
9. Fecha del informe de la prueba expedido por el servicio.............................................
10. Cantidad de informes de prueba expedidos por el servicio..........................................
11. Aprobación otorgada/ampliada/cancelada 2/ para uso general / para uso en un vehículo en particular o en clases especiales de vehículos 2/....................................................
12. Posición y clase de fabricación.....................................................................................
13. Lugar...............................................................................................................................
1/ Nombre distintivo del pais donde se otorga/amplia niega/cancela la aprobación (véanse las disposiciones aprobación en esta norma)
2/ Tachar lo que no corresponda
3/ Indicar la clase
14. Fecha...............................................................................................................................
15. Firma...............................................................................................................................
16. Se adjunta a esta comunicación una lista de los documentos del archivo de aprobación, depositados en las oficinas administrativas que otorgaron la aprobación, los cuales se pueden obtener por solicitud.
DISPOSICION DE LAS MARCAS DE APROBACION.

El cinturón que lleve la anterior marca es un cinturón de tres puntos ("A"), equipado con un dispositivo para absorber energía ("e") y aprobado en los Países Bajos (E4), con el número 042439, cuando la norma incluía la serie 04 de modificaciones al momento de la aprobación.

El cinturón que lleve la anterior marca es un cinturón de regazo ("B"), equipado con un retractor Clase 4, de múltiple sensibilidad (m) y aprobado en los Países Bajos (E4), con el número 042489, cuando la norma incluía la serie 04 de modificaciones al momento de la aprobación.
Nota: El número de aprobación y el o los símbolos adicionales, deben estar colocados cerca del círculo y bien sea encima o debajo de la "E", o a la izquierda o a la derecha de esa letra. Los dígitos del número de aprobación deben estar al mismo lado de la E y orientados en la misma dirección. El o los símbolos adicionales deben estar diametralmente opuestos al número de aprobación. Se debe evitar el uso de números romanos como número de aprobación para evitar la confusión con otros símbolos.

El cinturón que lleve la anterior marca de aprobación es un cinturón de clase especial ("S"), equipado c on un dispositivo para absorber energía ("e") y aprobado en los Países Bajos (E4), con el número 042439, cuando la norma incluía la serie 04 de modificaciones al momento de la aprobación.

El cinturón que lleve la anterior marca de aprobación es parte de un sistema de retención ("Z"), es una clase de cinturón especial ("S") equipado con un dispositivo para absorber energía ("e"). Fue aprobado en los Países Bajos (E4), con el número 0424491, cuando la norma incluía la serie 04 de modificaciones al momento de la aprobación.

El cinturón que lleve esta clase de aprobación es un cinturón de tres puntos ("A"), con retractor de múltiple sensibilidad ("m"), clase 4N ("4N"), aprobado en los Países Bajos (E4), con el número 042439, cuando la norma incluía la serie 04 de modificaciones al momento de la aprobación. Este cinturón no se debe instalar en vehículos de la Categoría M1.
DIAGRAMA DE UN APARATO PARA LA PRUEBA DE DURABILIDAD DEL MECANISMO RETRACTOR.

DIAGRAMA DE UN APARATO PARA LA PRUEBA DE CIERRE DE EMERGENCIA DE LOS RETRACTORES.
La figura ilustra un aparato adecuado, el cual comprende un motor de biela, con el eje amarrado con alambres a un pequeño carro montado sobre un riel. La combinación del diseño de la biela y la velocidad del motor es tal que proporciona la aceleración necesaria, a la tasa de aceleración especificada en el numeral 7.6.2.2 de esta norma, con el movimiento regulado para que supere el movimiento máximo permitido de la cinta antes de asegurar.
En el carro se monta un sujetador que se puede girar para permitir el montaje del retractor en distintas posiciones relacionadas con la dirección del movimiento del carro.
Cuando se prueba la sensibilidad de los retractores al movimiento de la cinta, se monta el retractor en una mordaza arreglada convenientemente y se coloca la cinta en el carro.
Cuando se hace esta prueba, cualquier mordaza, etc. suministrada por el fabricante, o por su representante autorizado, deberá estar incorporada a la instalación para la prueba, de manera que se pueda simular la instalación en un vehículo, hasta donde sea posible.
El fabricante, o el representante autorizado deberá suministrar cualquier mordaza, etc. adicional, necesaria para simular la instalación en el vehículo.

DIAGRAMA DE UN APARATO PARA LA PRUEBADE RESISTENCIA AL POLVO.

DESCRIPCION DEL CARRO, LA SILLA, LOS ANCLAJES Y EL DISPOSITIVO PARA PARAR.
1. CARRO
Para las pruebas de los cinturones de seguridad, el carro donde está instalada la silla, deberá tener una masa de 400 kg ± 20 kg. Para las pruebas de los sistemas de retención, el carro con la estructura del vehículo instalada, deberá tener una masa de 800 kg. Sin embargo, si fuera necesario, se podrá aumentar la masa total del carro y de la estructura del vehículo con aumentos de 200 kg. La masa total no deberá diferir, en ningún caso, del valor nominal más de ± 40 kg.
2. SILLA
Excepto cuando se trate de pruebas de los sistemas de retención, la silla deberá tener una estructura rígida con una superficie suave. Se respetarán los particulares indicados en la Figura 1 de este anexo, teniendo cuidado que no haya ninguna pieza metálica en contacto con el cinturón.
3. ANCLAJES
3.1 Cuando se trate de un cinturón equipado con un dispositivo de ajuste de la altura del cinturón, como se define en el numeral 29.6 de esta norma, el dispositivo deberá estar asegurado en un marco rígido, o una pieza del vehículo, donde está montado normalmente, la cual deberá estar bien asegurada al carro de prueba.
3.2 El anclaje deberá estar colocado como se indica en la Figura 1. Las marcas que corresponden a la disposición de los anclajes muestran el sitio de conexión de los extremos del cinturón con el carro o con el transductor de carga, según sea el caso. Los anclajes de uso normal son los puntos A, B y K, si la longitud de la cinta entre el borde superior de la hebilla y el orificio para colocar el soporte de la cinta no es superior a 250 mm. De otra forma, se usarán los puntos A1 y B1. La tolerancia para los puntos de anclaje es tal que cada punto de anclaje debe estar situado cuando más a 50 mm de los respectivos puntos A, B y K, indicados en la Figura 1 o A1, B1 y K, según sea el caso.
3.3 La estructura que lleva el anclaje deberá ser rígida. El anclaje superior no de berá estar desplazado más de 0,2 mm en la dirección longitudinal, con un total de 98 daN aplicados en esa dirección. El carro deberá estar construido de tal manera que no se puedan presentar parámetros de deformación de las piezas que soportan los anclajes durante la prueba.
3.4 Si fuera necesario un cuarto anclaje para asegurar el retractor, este anclaje:
Deberá estar situado en el plano vertical longitudinal que pasa a través de K;
Deberá permitir que se pueda inclinar el retractor al ángulo prescrito por el fabricante;
Deberá esta situación en el arco de un círculo con un radio KB1 = 790 mm si la longitud entre la guía de la cinta superior y la salida de la cinta en el retractor no es inferior a 540 mm o, en todos los casos, en el arco de un círculo con centro K y radio de 350 mm.
4. DISPOSITIVO DE FRENO
4.1 El dispositivo está formado por dos amortiguadores idénticos, montados en paralelo, excepto cuando se trate de sistemas retenedores, en cuyo caso será necesario usar cuatro amortiguadores para una masa nominal de 800 kg. Si fuera necesario, se usará un amortiguador adicional para cada 200 kg de aumento de la masa nominal. Cada amortiguador incluye:
- Una caja exterior formada por un tubo de acero.
- Un tubo de poliuretano para absorber energía.
- Una manija ovalada, de acero pulido que penetre en el tubo amortiguador; y un eje y una placa de impacto.
4.2 Las dimensiones de las distintas piezas de este amortiguador se indican en el diagrama reproducido en las Figuras 2, 3 y 4.
4.3 Las características del material de absorción se indican en la Tabla 1 de este anexo. Inmediatamente antes de cada prueba se deberán acondicionar los tubos de la prueba a una temperatura entre 15 oC y 25 oC, durante no menos de 12 h, sin utilizarlos. Durante la prueba dinámica de los cinturones de seguridad o de los sistemas de retención, el dispositivo de freno deberá estar a la misma temperatura de la prueba de calibración, con una tolerancia de ± 2 oC. Los requisitos que debe cumplir el sistema de freno se indican en el Anexo 8 de esta norma.
Se podrá usar cualquier otro dispositivo que tenga los mismos resultados.
TABLA 1
Características del material amortiguador
(Método ASTM D 735, excepto cuando se indique otra cosa)
Dureza del puerto A: 95 ± 2 a temperatura de 20o ± 5 oC
Fuerza de rotura: Ro >343 daN/cm2
Estiramiento mínimo: Ao >400 %
Módulo con estiramiento de 100 %: >108 daN/cm2
con estiramiento de 300 %: >235 daN/cm2
Friabilidad a baja temperatura: (Método ASTM D736)
5 h a- 55 oC
Conjunto de compresión (Método B):
22 h a 70 oC <45 %
Densidad a 25 oC: entre 1,05 y 1,10
Envejecimiento al aire (Método
ASTM D573)
70 h a 100 oC - Dureza del puerto A: variación máxima ± 3
- Fuerza de rotura: disminuir <10 % de Ro
- Estiramiento: disminuir <10 % de Ao
- Masa: disminuir <1 %
Inmersión en aceite (Método ASTM
No. 1, Aceite):
70 h a 100 oC - Dureza del puerto A: variación máxima ± 4
- Fuerza de rotura: disminuir <15 % de Ro
- Estiramiento: dismi nuir <10 % de Ao
- Masa: hinchar <5 %

Figura 1. Carro, asiento, anclaje

Figura 2. Dispositivo de freno (ensamblado)

Figura 3. Dispositivo de freno (tubo de poliuretano)

Figura 4. Dispositivo de freno (mango ovalado)
DESCRIPCION DEL MANIQUI.
1. ESPECIFICACIONES DEL MANIQUI
1.1 Generalidades
Las siguientes figuras y tablas ilustran las características principales del maniquí:
Figura 1 Vista lateral de la cabeza, nuca y torso.
Figura 2 Vista frontal de la cabeza, cuello y torso.
Figura 3 Vista lateral de cadera, muslos y parte inferior de la pierna.
Figura 4 Vista frontal de la cadera, muslos y parte inferior de la pierna.
Figura 5 Dimensiones principales.
Figura 6 Maniquí sentado, indicando la ubicación del centro de gravedad.
La ubicación de los puntos donde se debe medir el desplazamiento.
Altura del hombro.
Tabla 1. Referencias, nombres, materiales y dimensiones principales de componentes del maniquí; y
Tabla 2. Masas de la cabeza, nuca, torso, muslos y parte inferior de la pierna.
1.2 Descripción del maniquí
1.2.1 Estructura de la parte inferior de la pierna (véanse las Figuras 3 y 4).
La estructura de la parte inferior de la pierna tiene tres componentes:
Una sola placa (30).
Un tubo delgado (29), y
Un tubo que hace las veces de rodilla (26).
El tubo que hace las veces de rodilla tiene dos ranuras que limitan el movimiento de la parte inferior de la pierna con respecto del muslo.
La parte inferior de la pierna se puede girar hacia atrás 120o de la posición recta.
1.2.2 Estructura del muslo (véanse las Figuras 3 y 4)
La estructura del muslo tiene tres componentes:
El tubo que hace las veces de rodilla (22).
Una barra que hace las veces de muslo (21).
Un tubo que hace las veces de cadera (20).
El movimiento de las caderas está limitado por dos cortes en el tubo que hace las veces de rodilla (22), los cuales entran en las ranuras de la parte inferior de la pierna.
1.2.3 Estructura del torso, (véanse las Figuras 1 y 2).
La estructura del torso está formada por:
- Un tubo que hace las veces de cadera (2).
- Una cadena (4).
- Costillas (6) y (7).
- Un esternón (8), y
- Conexiones de la cadena (3) y piezas (7) y (8).
1.2.4 Cuello (véanse las Figuras 1 y 2).
El cuello está formado por siete discos de poliuretano (9). Se puede ajustar la rigidez del cuello mediante una cadena tensora.
1.2.5 Cabeza (véanse las Figuras 1 y 2).
La cabeza (15) misma es hueca; la forma de poliuretano está reforzada con una placa de acero (17). La cadena tensora, con la cual se puede ajustar el cuello, está hecha con un bloque de poliamida (10), un espaciador tubular (11) y miembros tensores (12) y (13). La cabeza puede girar alrededor de la unión del Eje Atlas, el cual está formado por el conjunto ajustador (14) y (18), el espaciador (16) y el bloque de poliamida (10).
1.2.6 Unión de la rodilla (véase la Figura 4).
La parte inferior de la pierna y los muslos están conectados por un tubo (27) y un tensor (28).
1.2.7 Unión de la cadera (véase la Figura 4).
Los muslos están conectados al torso por un tubo (23), placas de fricción (24) y el conjunto tensor (25).
1.2.8 Poliuretano
Clase: PU 123 Compuesto CH.
Dureza: 50-60 Shore A.
1.2.9 Overoles
El maniquí está vestido con un overol especial (véase la Tabla 1).
2. DISPOSITIVOS CORRECTORES
2.1 Generalidades
Con el fin de calibrar el maniquí de acuerdo con ciertos valores y su masa total, se ajustan las distribuciones de masa usando seis masas correctoras de acero, con un peso de 1 kg cada una, las cuales se pueden montar en la unión de la cadera. En la espalda y en el torso se pueden montar seis pesas de poliuretano, con una masa de 1 kg cada una.
3. COJIN
Se debe colocar un cojín entre el pecho del maniquí y el overol. Este cojín debe ser de espuma de poliuretano, con las siguientes especificaciones:
Dureza: 7-10 shore A.
Espesor: 25 mm ± 5.
Se deberá poder reemplazar.
4. AJUSTE DE LAS UNIONES
4.1 Generalidades
Para poder obtener resultados reproducibles, es necesario especificar y controlar la fricción en cada coyuntura.
4.2 Coyuntura de la rodilla
Se aprieta la coyuntura de la rodilla.
Se colocan verticalmente el muslo y la parte inferior de la pierna.
Se gira la parte inferior de la pierna hasta 30o.
Se afloja gradualmente el tenor (2) hasta que la parte inferior de la pierna empiece a caer por su propia masa.
Se fija en tensor en esta posición.
4.3 Coyuntura de la cadera
Se aprieta la coyuntura de la cadera.
Se coloca la cadera e n posición horizontal y el torso en posición vertical.
Se gira el torso hacia adelante hasta que el ángulo entre el torso y el muslo sea de 60o.
Se afloja gradualmente tensor hasta que el torso empiece a caer por su propia masa.
Se ajusta el tensor en esa posición.
4.4 Coyuntura del Eje Atlas
Se ajusta la coyuntura del Eje Atlas de manera que la coyuntura resista su propio peso en la dirección de la fuerza y hacia atrás.
4.5 Cuello
Se puede ajustar el cuello con la cadena tensora (13). Cuando esté ajustado el cuello, la parte superior del tensor se deberá desplazar entre 4 cm - 6 cm, cuando se somete a una carga horizontal de 10 daN.
TABLA No.1

TABLA 2
Componentes del maniquí Masa en kg
Cuello y cabeza 4,6 ± 0,3
Torso y brazo 40,3 ± 1,0
Muslos 16,2 ± 0,5
Pierna y pie 9,0 ± 0,5
Masa total incluyendo pesos de corrección 75,5 ± 1,0

Figura 1

Figura 2

Figura 3

Figura 4

Figura 5

G = Centro de gravedad
T = Punto de referencia del torso (en la parte posterior de la línea central del maniquí
P = Punto de referencia de la pelvis (en la parte posterior de la línea central del maniquí.
Figura 6
ANEXO 6. <sic>
DESCRIPCION DE LA CURVA DE DESACELERACION DEL CARRO, EN FUNCION DEL TIEMPO.
(Curva para probar los dispositivos de freno)

La curva de desaceleración del carro, cargado con una masa inerte para producir una masa total de 455 kg ± 20 kg para las pruebas de los cinturones de seguridad y de 910 kg ± 40 kg para las pruebas de los sistemas de retención, cuando la masa nominal del carro y de la estructura del vehículo es de 800 kg debe permanecer en el área cubierta anterior. Si fuera necesario, se puede aumentar la masa nominal del carro y de la estructura del vehículo montada, con incrementos de 200 kg, en cuyo caso se agregará una masa inerte adicional de 28 kg por cada aumento. En ningún caso deberá diferir la masa total del carro y la estructura del vehículo con las masas inertes del valor nominal de las pruebas de calibración, más de ± 40 kg Al calibrar la velocidad, la velocidad del carro deberá ser de 50 km ± 1 km y la distancia de frenado será de 40 cm ± 2 cm. En ambos casos anteriores, los procedimientos de calibraci ón y medidas deberán corresponder a los definidos en la norma Internacional ISO 6487 (1980); el equipo de medida debe corresponder a la especificación de un canal de datos con una frecuencia de canal clase 60 (CFC).
INSTRUCCIONES.
Todo cinturón de seguridad deberá estar acompañado de instrucciones con el siguiente contenido o clase, en el idioma o idiomas del país en donde se venderá:
1. Instrucciones de instalación (no necesarias si el fabricante del vehículo debe instalar el cinturón de seguridad), especificando para cuáles modelos de vehículo es adecuado el conjunto y la forma correcta para colocar el conjunto en el vehículo, incluyendo la prevención para evitar que se dañen las cintas.
2. Instrucciones para el usuario (las cuales podrán estar incluidas en el manual del usuario del vehículo si el fabricante instala el cinturón de seguridad), las cuales especifiquen las instrucciones para asegurar que el usuario obtenga en mayor beneficio del cinturón de seguridad. Estas instrucciones harán referencia a lo siguiente:
a) La importancia de usar el conjunto en toda oportunidad;
b) La forma correcta de usar el cinturón, y en particular:
La ubicación de la hebilla;
La conveniencia de usar los cinturones ajustados;
La posición correcta de las cintas y la necesidad de evitar que se tuerzan;
La importancia de que cada ocupante use un solo cinturón y especialmente de no colocar el cinturón alrededor de un infante sentado en el regazo de una persona;
c) La forma para hacer funcionar la hebilla;
d) La forma para hacer funcionar el ajustador;
e) La forma para hacer funcionar cualquier retractor que pudiera estar incorporado al conjunto y la forma para verificar que asegura;
f) Los métodos recomendados para limpiar el cinturón y volverlo a ensamblar, después de limpiarlo, cuando sea necesario;
g) La necesidad de reemplazar el cinturón de seguridad cuando se estaba usando durante un accidente severo, o cuando muestre señales de deterioro o haya sido cortado, o cuando un cinturón equipado con un indicador visual de sobrecarga, indique que el cinturón no es adecuado para seguir usándolo, o cuando el cinturón de seguridad esté equipado con un dispositivo de carga previa y este se activa.
h) El hecho de que el cinturón no debe ser alterado o modificado de ninguna manera, puesto que tales cambios pueden hacer que el cinturón no sea eficaz y, en particular, cuando del diseño permita desensamblar una parte, deberá haber instrucciones para volver a ensamblarlo correctamente;
i) El hecho de que el cinturón está diseñado para uso de ocupantes de tamaño adulto;
j) La forma de guardar el cinturón cuando no se use.
3. Cuando se trate de cinturones de seguridad, equipados con un retractor de la Clase 4N, se indicará en las instrucciones de instalación y en cualquier paquete que este cinturón no es adecuado para instalar en vehículos automotores de pasajeros que no tengan más de 9 asientos, incluyendo el del conductor.
PRUEBA DE DOBLE HEBILLA.

PRUEBAS DE ABRASION Y MICRO-DESLIZAMIENTO.


Ejemplos de la disposición para las pruebas que corresponden a la clase de dispositivo de ajuste. Todas las dimensiones están en mm.
Figura 2- Procedimiento Clase 2


Figura 3- Procedimiento Clase 3 y prueba de micro-deslizamiento


PRUEBA DE CORROSION.
1. APARATOS DE LA PRUEBA
1.1 Los aparatos serán una cámara de rocío, un recipiente con solución salina, una cantidad de aire comprimido, debidamente acondicionado, una o varias boquillas atomizadoras, soportes para las muestras, una forma de calentar la cámara y las formas de control necesarias. El tamaño y el detalle de la construcción de los aparatos será opcional, siempre y cuando se cumplan las cond iciones de la prueba.
1.2 Es importante verificar que las gotas de solución acumuladas en el techo o en la cubierta de la cámara no caigan sobre las muestras de la prueba.
1.3 Las gotas de solución que caen de las muestras de la prueba no deberán regresar al recipiente para volver a rociarlas.
1.4 No se deberá construir el aparato con materiales que puedan afectar la corrosividad del rocío.
2. UBICACION DE LAS MUESTRAS DE LA PRUEBA EN EL GABINETE DE ROCIO
2.1 Las muestras, con excepción de los retractores, estarán soportadas o suspendidas entre 15o y 30o de la vertical y, preferiblemente paralelas a la dirección horizontal principal del flujo de rocío en la cámara, de acuerdo con la superficie dominante que se pruebe.
2.2 Los retractores deberán estar soportados o suspendidos de tal manera que los ejes del riel donde se guarda el cinturón estén en la dirección normal de la dirección primaria del flujo horizontal del rocío a través de la cámara. La apertura de la cinta en el retractor también deberá estar orientada hacia la dirección principal.
2.3 La muestra deberá estar colocada de tal manera que el rocío pueda asentarse libremente en todas las muestras.
2.4 Cada muestra deberá estar colocada de cada manera que se evite que la solución salina de una muestra gotee sobre otra muestra.
3. SOLUCION SALINA
3.1 Se prepara la solución salina disolviendo 5 ± 1 parte por masa, de cloruro de sodios en 95 partes de agua destinada. La sal deberá ser cloruro de sodio substancialmente libre de níquel y cobre y con un contenido de no más de 1,0 % de sodio yodado, en base seca y no más de 0,3 % de impurezas totales.
3.2 La solución deberá ser de tal índole que al atomizarla a 35 oC el pH de la solución recogida esté entre 6.5 y 7.2.
4. SUMINISTRO DE AIRE
El suministro de aire comprimido a la boquilla o boquillas para atomizar la solución salina, deberá estar libre de aceite y mugre y se deberá mantener a una presión entre 70 kN/m2 y 170 kN/m2.
5. CONDICIONES EN LA CAMARA DE ROCIO
5.1 La zona de exposición, en la cámara de rocío se mantendrá a una temperatura de 35 oC ± 5oC. Se colocarán no menos de dos colectores de rocío, limpios, en las zonas de exposición para que no se recojan gotas de la solución que caigan de las muestras de la prueba o de cualquier otra fuente. El colector deberá estar colocado cerca de las muestras de la prueba, uno cerca de la boquilla y otro alejado de todas las boquillas. El rocío deberá ser de tal clase que para cada 80 cm2 de áreas de recolección horizontal, cada colector recoja entre 1,0 ml a 2,0 ml de la solución, cada hora, al medir un promedio de no menos de 16 h.
ORDEN DE LAS PRUEBAS.


CONTROL DE CONFORMIDAD DE PRODUCCION.
1. PRUEBAS
Los cinturones de seguridad deberán demostrar que cumplen los requisitos en los cuales se basan las siguientes pruebas:
1.1 Verificación del umbral del seguro y duración de los retractores con seguro de emergencia
De acuerdo con las disposiciones del numeral 7.6.2, en la dirección más desfavorable, como convenga después de haber pasado las pruebas de durabilidad detalladas en los numerales 7.6.1, 7.2 y 7.6.3, como requisito del numeral 6.2.5.3.5 de esta norma.
1.2 Verificación de la durabilidad de los retractores que se aseguran automáticamente
De acuerdo con las disposiciones del numeral 7.6.1, complementada por las pruebas indicadas en los numerales 7.2 y 7.6.3 como requisito del numeral 6.2.5.2.3 de esta norma.
1.3 Prueba de resistencia de las cintas, después de acondicionarlas
Se acondiciona de acuerdo con el procedimiento descrito en el numeral 7.4.2, después de acondicionar de acuerdo con los requisitos de los numerales 7.4.1.1 a 7.4.1.5 de esta norma
1.3.1 Prueba de resistencia del cinturón después de la abrasión
De acuerdo con los procedimientos descritos en el numeral 7.4.2, después de acondicionar de acuerdo con los requisitos indicados en el numeral 7.4.1.5 de esta norma.
1.4 Prueba de micro-deslizamiento
De acuerdo con el procedimiento descrito en el numeral 7.3 de esta norma.
1.5 Prueba las piezas rígidas
De acuerdo con el procedimiento descrito en el numeral 7.5 de esta norma.
documentoS de referencia
UNITED NATIONS. Agreement Uniform Provisions Concerning the Approval of Safety Belts and Restrain Sistems for Adult Occupants of Power-Driven Vehicles, Reglamento 16. Ginebra, 1980, 31 p. 25 il. (E/ECE/324 E/ECE/TRANS/505 25 January 1980).
Las revisiones y addendas al anterior documento:
- E/ECE/324 E/ECE/TRANS/505 - 30 abril 1998.
- E/ECE/324 E/ECE/TRANS/505 - 16 mayo 1988.
- E/ECE/324 E/ECE/TRANS/505 - 31 diciembre 1985.